VEB Motorradwerk Zschopau (Herausgeber)(1965):

Reparaturanleitung für die MZ-Motorräder ES 175/1, ES 250/1 und ES 300

Vorwort


Über MZ-Motorräder lange Erklärungen abzugeben, halten wir für überflüssig. Im hohen Norden Finnlands, unter der sengenden Sonne Afrikas, unter den gegensätzlichsten Betriebsbedingungen rollen die MZ zur Zufriedenheit ihrer Besitzer!
Damit die Fahrzeuge auch nach längerem Betrieb - und der damit verbundenen Abnutzung - einsatzbereit und zuverlässig bleiben, geben wir mit dieser Reparaturanleitung die erforderlichen Hinweise für unsere MZ- Werkstätten im In- und Ausland.
Eine Instandsetzung ist Vertrauenssache in mehrfacher Hinsicht: Zuverlässige Arbeit des Monteurs, davon hängt die Sicherheit des Fahrers ab. Erkennen des tatsächlichen Fehlers, dadurch kein unnötiger Materialeinsatz und geringerer Arbeitsaufwand. Daraus resultierend: keine Nacharbeit, kurze Ausfallzeit und niedrigere Reparaturkosten!
Um das zu ermöglichen, beschreiben wir nicht reine Schlosserarbeit (handwerkliche Kenntnisse setzen wir als selbstverständlich voraus), sondern vor allem die Erkennungsmerkmale verschiedener Schäden sowie deren Ursachen.
Voraussetzung für eine fachgerechte Reparatur ist, immer mit den von MZ empfohlenen Sonderwerkzeugen und Hilfsmitteln zu arbeiten. Zu beziehen sind diese vom MZ-Ersatzteilvertrieb - an Hand der im Anhang gebrachten Skizzen besteht die Möglichkeit zum Selbstbau. Besonders Selbstbedienungswerkstätten und Bastler möchten wir nachdrücklich auf diese Empfehlung hinweisen, damit nicht durch falschen Optimismus erheblicher Mehraufwand an Arbeitszeit und Material entsteht.
Wir hoffen, den Mitarbeitern unserer Vertragswerkstätten im In- und Ausland sowie unseren MZ-Freunden in der ganzen Welt mit diesem Nachschlagewerk die erforderlichen Kenntnisse zu vermitteln und wünschen viel Erfolg.

VEB Motorradwerk Zschopau
Abt. Kundendienst




Inhaltsverzeichnis

1.Technische Daten
1.1.Motor
1.2.Vergaser
1.3.Elektrische Anlage
1.4.Getriebe
1.5.Kraftübertragung
1.6.Fahrgestell
1.7.Maße und Massen
1.8.Füllmengen
1.9.Bremsverzögerung
2.Betriebsmittel
2.1.Kraftstoff
2.2.Motorenöl
2.3.Mischungsverhältnis
2.4.Schmiermittel für Kraftübertragung
2.5.Schmiermittel für Fahrgestell
2.6.Stoßdämnpferfüllung
2.7.Diagramme von Leistung, spezifischem Verbrauch und Drehmoment
2.8.Straßenverbrauchsdiagramme
2.9.Beschleunigungsdiagramme
3.Demontage des Motors
3.1.Motor aus dem Fahrgestell ausbauen
3.2.Motor zerlegen
4.Motor zusammenbauen
4.1.Kurbelwelle
4.2.Getriebe
4.3.Schalteinstellung
4.4.Rechte Gehäusehälfte aufsetzen
4.5.Pleuel richten
4.6.Kolben und Zylinder montieren
4.7.Kupplung und Primärantrieb
5.Elektrische Anlage
5.1.Lichtmaschine überprüfen
5.2.Zündunterbrecher überprüfen und einstellen
5.3.Zündkerze und Kerzenstecker
5.4.Zündspule
5.5.Batterie
5.6.Regler
5.7.Scheinwerfer
5.8.Schlußleuchte mit Bremslicht
5.9.Bremslichtkontakt
5.10.Blinkgeber
5.11.Schaltplan
6.Ansaugsystem
6.1.Vergaser
6.2.Standgas-Anschlagfeder
7.Fahrgestell
7.1.Kraftstoffbehälter abnehmen
7.2.Überprüfen und Nachstellen der Lenkungslager
7.3.Schwingenlagerbolzen auswechseln
7.4.Bremsen instandsetzen
7.5.Fußrastenrohr auswechseln
7.6.Hinterradantrieb zerlegen
7.7.Radlager ausbauen
7.8.Sekundärkette ausbauen bzw. auswechseln
7.9.Tachoantrieb
7.10.Schalldämpfer reinigen
7.11.Kettendurchhang überprüfen
7.12.Hinterrad spuren
7.13.Federbeine instandsetzen
8.Flachsteckverbindungen der elektrischen Anlage
9.Selbstbauskizzen für Sonderwerkzeuge
10.Umrechnungstabelle Zoll in Millimeter, Liter in Galloneusw.



Bild 1. ES 175/1 - ES 250/1

Bild 2. ES 300



1. Technische Daten

1.1. Motor

nächster Punkt ; Inhaltsverzeichnis

  ES 175/1 ES 250/1 ES 300
Arbeitsverfahren Zweitakt (Umkehrspülung) Zweitakt (Umkehrspülung) Zweitakt (Umkehrspülung)
Kühlungsart Luft (Fahrtwind) Luft (Fahrtwind) Luft (Fahrtwind)
Zylinderzahl 1 1 1
Hub / Bohrung (in mm) 65 / 58 65 / 70 72 / 72
Hubraum 172 cm3 250 cm3 293 cm3
Verdichtungsverhältnis 9:1 8,5:1 8,8:1
Verdichtungsraum mit eingeschraubter Zündkerze 21,4 cm3 33 cm3 38 cm3
Leistung bei 5200 U/min 8,82 kW = 12 DIN-PS oder 13,5 SAE-PS 11,76 kW = 16 DIN-PS oder 17,5 SAE-PS 13,60 kW = 18,5 DIN-PS oder 20,2 SAE-PS
Max. Drehmoment bei 4000 U/min 1,7 kpm 2,3 kpm 2,7 kpm
Schmierung Mischungsschmierung 33:1,
Spezial-Zweitakt-Motorenöl
Mischungsschmierung 33:1,
Spezial-Zweitakt-Motorenöl
Mischungsschmierung 33:1,
Spezial-Zweitakt-Motorenöl
Pleuellager käfiggeführtes Nadellager käfiggeführtes Nadellager käfiggeführtes Nadellager
Kurbelwellenhauptlager 2 Stück Lager 6305 C 003 f
1 Stück Lager 6302 C 003 f
2 Stück Lager 6305 C 003 f
1 Stück Lager 6302 C 003 f
2 Stück Lager 6305 C 003 f
1 Stück Lager 6302 C 003 f
Schmierung der Kurbelwellenhauptlager durch Getriebeschmiermittel durch Getriebeschmiermittel durch Getriebeschmiermittel
Kolben mit 2 Ringen 2 mm breit mit 2 Ringen 2 mm breit mit 2 Ringen 2 mm breit
Kolbenmasse komplett mit Ringen, Bolzen und Sicherungen 240 ±5g 360 ±5g 400 ±5g
Zylinder Leichtmetall, mit umgossener Laufbuchse aus Sondergrauguß Leichtmetall, mit umgossener Laufbuchse aus Sondergrauguß Leichtmetall, mit umgossener Laufbuchse aus Sondergrauguß


Bild 3. Schnittzeichnung Motor ES 175/1, ES 250/1, ES 300 (hier vergrößerte Darstellung)

1.2. Vergaser

nächster Punkt ; Inhaltsverzeichnis

  ES 175/1 ES 250/1 ES 300
Typ BVF 25,5 KN 1-2
(Zweihebel-Rundschieber mit Nadelführung)
BVF 28,5 KN 1-1
(Zweihebel-Rundschieber mit Nadelführung)
BVF 30 KN 1-1
(Zweihebel-Rundschieber mit Nadelführung)
Vergaserwerte:
Durchlaß in mm 25,5 28,5 30
Hauptdüse 100 120 120
Nadeldüse 70 77 77
Teillastnadel Nr. 3 mit 7 Kerben 11 mit 7 Kerben 11 mit 7 Kerben
Nadelstellung von oben 5. Kerbe 5. Kerbe (4. nach der Einfahrzeit) 6. Kerbe (5. nach der Einfahrzeit)
Leerlaufdüse 45 45 45
Schieberausschnitt 4,0 mm 4,0 mm 4,0 mm
Leerlaufluftschraube etwa 2,5 Umdr. offen etwa 2,5 Umdr. offen etwa 2,5 Umdr. offen
Kraftstoffniveau 28 + 1 mm 28 + 1 mm 28 + 1 mm
Luftfilter Naßluftfilter mit Ansauggeräuschdämpfer Naßluftfilter mit Ansauggeräuschdämpfer Naßluftfilter mit Ansauggeräuschdämpfer


1.3. Elektrische Anlage

nächster Punkt ; Inhaltsverzeichnis

  ES 175/1 ES 250/1 ES 300
Zündung Batteriezündung Batteriezündung Batteriezündung
Zündzeitpunkt 4 mm vor OT bei voll ausgedrückten Fliehgewichten
Kontaktabstand 0,4 mm
3,3 mm vor OT bei voll ausgedrückten Fliehgewichten
Kontaktabstand 0,3 mm
3 mm vor OT bei voll ausgedrückten Fliehgewichten
Kontaktabstand 0,3 mm
Zündkerze Isolator M 14/260 Isolator M 14/260 Isolator M 14/260
Elektrodenabstand 0,6 mm 0,6 mm 0,6 mm
Lichtmaschine Gleichstrom, 6 V, 60 W, Kurzzeitig 90 W Gleichstrom, 6 V, 60 W, Kurzzeitig 90 W Gleichstrom, 6 V, 60 W, Kurzzeitig 90 W
Ladekontrollampe im Tachometer (rot) im Tachometer (rot) im Tachometer (rot)
Regler RSC 60/6, unter der Seitenverkleidung RSC 60/6, unter der Seitenverkleidung RSC 60/6, unter der Seitenverkleidung
Batterie 6 V, 12 Ah (Bleisammler-Flachbatterie) 6 V, 12 Ah (Bleisammler-Flachbatterie) 6 V, 12 Ah (Bleisammler-Flachbatterie)
Zündspule 6 V, unter dem Kraftstoffbehälter 6 V, unter dem Kraftstoffbehälter 6 V, unter dem Kraftstoffbehälter
Scheinwerfer feststehend - Lichtaustritt 160 mm feststehend - Lichtaustritt 160 mm feststehend - Lichtaustritt 160 mm
Schlußleuchte Lichtaustritt 95 mm Lichtaustritt 95 mm Lichtaustritt 95 mm
kombiniert mit Bremslicht Kontakt am hinteren Bremsschlüssel Kontakt am hinteren Bremsschlüssel Kontakt am hinteren Bremsschlüssel
Blinkleuchten beiderseits am Lenkerende (Schalter am Lenker rechts) beiderseits am Lenkerende (Schalter am Lenker rechts) beiderseits am Lenkerende (Schalter am Lenker rechts)
Blinkgeber im Scheinwerfergehäuse im Scheinwerfergehäuse im Scheinwerfergehäuse
Signalhorn unter dem Kraftstoffbehälter unter dem Kraftstoffbehälter unter dem Kraftstoffbehälter
Lichthupe Betätigung durch Druckknopf unter dem Abblendschalter Betätigung durch Druckknopf unter dem Abblendschalter Betätigung durch Druckknopf unter dem Abblendschalter


1.4. Getriebe

nächster Punkt ; Inhaltsverzeichnis

  ES 175/1 ES 250/1 ES 300
Kupplung Mehrscheibenkupplung im Ölbad (auf Kurbelwellenstumpf) Mehrscheibenkupplung im Ölbad (auf Kurbelwellenstumpf) Mehrscheibenkupplung im Ölbad (auf Kurbelwellenstumpf)
Schaltung Fußschaltung Fußschaltung Fußschaltung
Anzahl der Gänge 4 4 4
Getriebeabstufung
1. Gang 2,77:1 2,77:1 2,77:1
2. Gang 1,63:1 1,63:1 1,63:1
3. Gang 1,23:1 1,23:1 1,23:1
4. Gang 0,92:1 0,92:1 0,92:1
Leerlaufanzeige elektrische Kontrollampe im Tacho (grün) elektrische Kontrollampe im Tacho (grün) elektrische Kontrollampe im Tacho (grün)


1.5. Kraftübertragung

nächster Punkt ; Inhaltsverzeichnis

  ES 175/1 ES 250/1 ES 300
Übersetzung Motor/Getriebe durch schrägverzahnte Stirnräder 2,43 : 1 = 28 : 68 Zähne 2,43 : 1 = 28 : 68 Zähne 2,43 : 1 = 28 : 68 Zähne
Übersetzung Getriebe/Hinterrad durch Rollenkette 2,65 : 1 = 17 : 45 Zähne
12,7x7,75x8,51 mm (1/2x5/16 Zoll)
2,25 : 1 = 20 : 45 Zähne
12,7x7,75x8,51 mm (1/2x5/16 Zoll)
(mit Seitenwagen: 2,65 : 1 = 17 : 45 Zähne)
2,14 : 1 = 21 : 45 Zähne
12,7x7,75x8,51 mm (1/2x5/16 Zoll)
(mit Seitenwagen: 2,5 : 1 = 18 : 45 Zähne)
Dynamischer Halbmesser des Hinterradreifens 281 mm 281 mm 281 mm


1.6. Fahrgestell

nächster Punkt ; Inhaltsverzeichnis

  ES 175/1 ES 250/1 ES 300
Rahmen Einrohrrahmen, geschweißt Einrohrrahmen, geschweißt Einrohrrahmen, geschweißt
Steuerwinkel 63° 63° 63°
Nachlauf, solo 105 mm 105 mm 105 mm
Nachlauf mit Seitenwagen 65 mm 65 mm 65 mm
Art der Federung vorn und hinten Langschwinge vorn und hinten Langschwinge vorn und hinten Langschwinge
vorn Federbein mit Ölstoßdämpfung, Federweg 142 mm Federbein mit Ölstoßdämpfung, Federweg 142 mm Federbein mit Ölstoßdämpfung, Federweg 142 mm
hinten Federbein mit Ölstoßdämpfung, Federhärte verstellbar, Federweg 115 mm Federbein mit Ölstoßdämpfung, Federhärte verstellbar, Federweg 115 mm Federbein mit Ölstoßdämpfung, Federhärte verstellbar, Federweg 115 mm
Räder Drahtspeichenräder (mit ungekröpften Speichen) Drahtspeichenräder (mit ungekröpften Speichen) Drahtspeichenräder (mit ungekröpften Speichen)
Felgengröße
vorn 1,85 Bx16 1,85 Bx16 1,85 Bx16
hinten 2,15 Bx16 2,15 Bx16 2,15 Bx16
Bereifung
vorn 3,25x16 3,25x16 3,25x16
hinten 3,50x16 3,50x16 3,50x16
Reifenluftdruck (in at Überdruck)
vorn 1,4 1,4 1,4
hinten 1,9 für Solofahrt 1,9 für Solofahrt 1,9 für Solofahrt
hinten 2,1 für Soziusfahrt 2,1 für Soziusfahrt und SW
2,6 für SW-Betrieb und Sozius
2,1 für Soziusfahrt und SW
2,6 für SW-Betrieb und Sozius
Bremsen Zentralbremsen,
Durchmesser 160 mm
Backenbreite 30 mm
Zentralbremsen,
Durchmesser 160 mm
Backenbreite 30 mm
Zentralbremsen,
Durchmesser 160 mm
Backenbreite 30 mm



1.7. Maße und Massen (Gewichte)

nächster Punkt ; Inhaltsverzeichnis

  ES 175/1 ES 250/1 ES 300
Radstand 1325 mm 1325 mm 1325 mm
Länge 2035 mm 2035 mm 2035 mm
Breite 880 mm mit Spiegel und Blinkern 880 mm mit Spiegel und Blinkern 880 mm mit Spiegel und Blinkern
Höhe 1185 mm mit Spiegel, unbelastet 1185 mm mit Spiegel, unbelastet 1185 mm mit Spiegel, unbelastet
Bauchfreiheit 140 mm 140 mm 140 mm
Leermasse 149 kg 153 kg 158 kg
Tragfähigkeit 171 kp 167 kp 162 kp
Zulässige Gesamtmasse 320 kg 320 kg 320 kg


1.8. Füllmengen

nächster Punkt ; Inhaltsverzeichnis

  ES 175/1 ES 250/1 ES 300
Getriebe 750 cm3 Motorenöl (unlegiert), Viskosität entsprechend der Jahreszeit, SAE 40 im Sommer, SAE 20 im Winter 750 cm3 Motorenöl (unlegiert), Viskosität entsprechend der Jahreszeit, SAE 40 im Sommer, SAE 20 im Winter 750 cm3 Motorenöl (unlegiert), Viskosität entsprechend der Jahreszeit, SAE 40 im Sommer, SAE 20 im Winter
Kraftstoffbehälter etwa 15 l Kraftstoffmischung 33 : l etwa 15 l Kraftstoffmischung 33 : l etwa 15 l Kraftstoffmischung 33 : l
davon Reserve etwa 1,5 l etwa 1,5 l etwa 1,5 l
Federbeine 80 cm3 Stoßdämpferöl 'Globo' je Federbein, Viskosität 1,65 ... 1,92°E bei 50°C = 8 ... 11 cSt/50°C
Im Ausland nur Marken-Dämpfungsflüssigkeit mit gleicher Viskosität verwenden!
80 cm3 Stoßdämpferöl 'Globo' je Federbein, Viskosität 1,65 ... 1,92°E bei 50°C = 8 ... 11 cSt/50°C
Im Ausland nur Marken-Dämpfungsflüssigkeit mit gleicher Viskosität verwenden!
80 cm3 Stoßdämpferöl 'Globo' je Federbein, Viskosität 1,65 ... 1,92°E bei 50°C = 8 ... 11 cSt/50°C
Im Ausland nur Marken-Dämpfungsflüssigkeit mit gleicher Viskosität verwenden!
Höchstgeschwindigkeit etwa 100 km/h etwa 115 km/h (90 km/h mit SW) etwa 120 km/h (95 km/h mit SW)


1.9. Bremsverzögerung

nächster Punkt ; Inhaltsverzeichnis

Bei günstigem Haftreibwert auf griffiger Betonfahrbahn (Autobahn) kann eine Bremsverzögerung von 7,2 m/s erzielt werden. Voraussetzung sind guter Reifenzustand und richtige Bremseinstellung. Bei sachgemäßer Bedienung beider Bremsen ergeben sich folgende Bremswege:

30 km/h ......... 4,8 m
60 km/h ......... 19,4m
90 km/h ......... 44,0 m

In diesen Werten ist die Reaktionszeit des Fahrers nicht enthalten!



2. Betriebsmittel

2.1. Kraftstoff

nächster Punkt ; Inhaltsverzeichnis

Für alle drei ES-Typen ist - entsprechend dem Verdichtungsverhältnis von 8,5 bzw. 9 : 1 ein Vergaserkraftstoff von 78 Oktan, also VK 'Extra' (gelb), zu verwenden. Für das Ausland wird 'Super' empfohlen (OZ 80).

Steht jedoch nur Vergaserkraftstoff unter OZ 75 zur Verfügung, so ist es zweckmäßig, über den zuständigen Importeur von unserem Ersatzteilvertriebslager einen Zylinderdeckel mit reduziertem Verdichtungsverhältnis von etwa 7,5 : 1 zu beziehen.



2.2. Motorenöl

nächster Punkt ; Inhaltsverzeichnis

Pleuelstange, Zylinder und Kolben werden durch die einfache und betriebssichere Mischungsschmierung mit Öl versorgt. Unsere jahrelangen Erprobungen veranlassen uns, im Inland die ausschließliche Verwendung des

Hyzet-Zweitakt-Motorenöls

vorzuschreiben, denn gerade das Beste ist für den Motor gut genug. Dieses legierte Öl verringert die mechanische Abnutzung und das Ansetzen von Verbrennungsrückständen.Durch die Verwendung unlegierter Motorenöle verursachte Motorschäden werden von MZ nicht als Garantiefall anerkannt!Unseren MZ-Freunden im Ausland empfehlen wir, ebenfalls nur legierte Spezial-Zweitakt-Motorenöle (Shell X 100, Zwo-Ta-Mix o. ä.) zu verwenden.



2.3. Mischungsverhältnis

nächster Punkt ; Inhaltsverzeichnis

Das Mischungsverhältnis ist in jedem Falle, also auch während der Einfahrzeit, 33:1. Es werden immer 10 l Kraftstoff mit 0,3 l Hyzet-Öl gemischt.
Im Ausland:
1 engl. Gallone (4,54 l) Benzin gemischt mit 0,23 engl. Pint Zweitakt-Öl
1 US-Gallone (3,78 l) Benzin gemischt mit 0,23 US-Pint Zweitakt-Öl
Steht nur unlegiertes Motorenöl zur Verfügung, so muß 25 : 1 gemischt werden. Das sind 10 l Kraftstoff und 0,4 l Öl!



2.4. Schmiermittel für Kraftübertragung

nächster Punkt ; Inhaltsverzeichnis

Für das Getriebe mit Primärantrieb sind 750 cm3 Motorenöl als Schmiermittel vorgesehen. Auf keinen Fall dürfen graphitierte Öle verwendet werden, weil damit die Kupplung rutschen würde. Dieselben Beanstandungen treten auf, wenn legiertes Motorenöl eingefüllt wird. Entsprechend der Jahreszeit ist Sommer- oder Winteröl zu verwenden.

Sommer SAE 40
Winter SAE 20


2.5. Schmiermittel für Fahrgestell

nächster Punkt ; Inhaltsverzeichnis

Alle Schmiernippel des Fahrgestells sind durch eine Hochdruckpresse mit Motorenöl abzuschmieren. Nur der Tachoantrieb am Getrieberitzel erhält Abschmierfett.

Im Inland: F-8-Getriebefett
Im Ausland: Shell-Ambroleum


2.6. Stoßdämpferfüllung

nächster Punkt ; Inhaltsverzeichnis

Die Stoßdämpfer sind mit je 80 cm3 'Globo'-Stoßdämpferflüssigkeit gefüllt. Viskosität 1,65...1,92 °E bei 50 °C = 8...11 cSt bei 50 °C.
Steht dieses Stoßdämpferöl im Ausland nicht zur Verfügung, so kann auch ein anderes Markenerzeugnis verwendet werden, sofern es die gleiche Viskosität hat.
Liegt der Wert niedriger, wird die 'Rücklaufenergie' der Druckfeder im Federbein nicht voll abgefangen - das Fahrzeug 'schwimmt'!
Liegt der Wert höher, geht die Druckfeder zu langsam in ihre Endlage zurück. Für die nächsten Fahrbahnstöße steht dann nur noch der halbe Federweg zur Verfügung - die Federung wird 'hart' und immer härter!



2.7. Diagramme von Leistung, spezifischem Verbrauch und Drehmoment

nächster Punkt ; Inhaltsverzeichnis

Bild 4. Leistung, spezifischer Verbrauch und Drehmoment der ES 175/1



Bild 5. Leistung, spezifischer Verbrauch und Drehmoment der ES 250/1



Bild 6. Leistung, spezifischer Verbrauch und Drehmoment der ES 300



2.8. Straßenverbrauchsdiagramme

nächster Punkt ; Inhaltsverzeichnis

Bild 7. Straßenverbrauch der ES 175 und ES 175/1 im 4. Gang



Bild 7a. Straßenverbrauch der ES 250 und ES 250/1 im 4. Gang



Bild 8. Straßenverbrauch der ES 300 im 4. Gang



2.9. Beschleunigungsdiagramme

nächster Punkt ; Inhaltsverzeichnis

Bild 9. Beschleunigung der ES 175 - ES 175/1 und ES 250 - ES 250/1



Bild 10. Beschleunigung der ES 300



3. Demontage des Motors

3.1. Motor aus dem Fahrgestell ausbauen

nächster Punkt ; Inhaltsverzeichnis

Anmerkung: SW = Schlüsselweite: 'SW 17' bedeutet z.B. Schlüsselweite 17 mm.

Lichtmaschinendeckel abnehmen und den Kabelsatz an der Lichtmaschine abklemmen. Spezial-Steckschlüssel SW 5,5 benutzen!

Wenn die Kennfarben der einzelnen Kabel nicht mehr einwandfrei zu unterscheiden sind, ist es zweckmäßig - besonders für den Bastler - Papierfähnchen mit Markierungen (D+, DF und Masse) anzubringen, um das Durchmessen beim Zusammenbau zu sparen.

Bild 11

Damit die Lichtmaschine beim Herausheben des Motors nicht beschädigt wird, ist diese vorher abzunehmen:

Halteschraube für Anker (1) lösen (SW 14), Nockenträger (2) abziehen - nicht gewaltsam abdrücken und verkanten - der kurze, zylindrische Ansatz lockert sich im Anker durch leichtes Kippeln.

Die zwei Halteschrauben des Polgehäuses (3) lösen und abnehmen.


Der Anker darf nur mit dem Abzieher 02-MW 39-4 abgenommen werden. Andere Hilfsmittel, z. B. ein Klauenabzieher, machen den Anker unbrauchbar.
Den Keil gut aufbewahren!

Bild 12

ES 175 und ES 250 sowie /1-Typen:

Motor fertig zum Ausbauen.

Bei der ES 300 muß der Kraftstoffbehälter hinten angehoben oder, um Lackschäden zu vermeiden, abgenommen werden.

Bild 13

Kraftstoffbehälter abnehmen:

Sitzbank oder Fahrersattel abnehmen, Kraftstoffhahn lockern (Vorsicht! - Die Überwurfmutter hat in der oberen Hälfte Rechts-, in der unteren Linksgewinde!) und eine Vierteldrehung nach links drehen, damit dieser am Rahmen vorbeigeht. Verbindungsschlauch (1) auf einer Seite abziehen.

Die zwei Schrauben (Pfeile) M 6 x 75 entfernen und die Lagergummis herausdrücken, sonst gehen sie eventuell verloren.

Bild 14

3.2. Motor zerlegen

nächster Punkt ; Inhaltsverzeichnis

Montagevorrichtung 05-MV 33-0.

Bild 15

Mutter (SW 22) am Getriebekettenrad lösen, dabei den Gegenhalter 05-MW 45-3 benutzen.

Bild 16

Getriebekettenrad mit 05-MV 45-3 abziehen.

Das ist derselbe Abzieher, der zum Abnehmen des 68zähnigen Antriebsrades benötigt wird.

Bild 17

Beim Abnehmen des Kupplungsdeckels nur den Schalthebel abziehen - nicht den Kickstarter!

Den Splint der Kronenmutter am Kurbelwellenstumpf entfernen und diese durch einen Schlag gegen den Ring- oder Steckschlüssel lockern und abdrehen (Rechtsgewinde!) Nach dem Lösen der drei Schrauben ist noch die Stellplatte abzunehmen. Die drei Kupferdichtringe gut verwahren!

Mit dem Gummihammer gegen die Kupplungsseilnabe klopfen und gleichzeitig am Kickstarterhebel ziehen - das Kupplungslager 6302 muß vom Kurbelwellenstumpf abgezogen werden!

Auf keinen Fall an der Dichtfläche mit dem Schraubenzieher nachhelfen. Nur durch erhebliche Nacharbeit wird das Gehäuse wieder dicht!

Bild 18

Kupplung abziehen mit 05-MW 20-4.

Bild 19

Mutter am 68zähnigen Antriebsrad lösen; (SW 24), dabei den Gegenhalter 05-MW 15-3 benutzen.

Bild 20

Antriebsrad mit Abzieher 05-MV 45-3 abnehmen.

Muttern des Zylinderdeckels nur über Kreuz lösen; denn nicht nur beim Anziehen, sondern auch beim Abnehmen kann sich dieser verziehen und ist dann natürlich undicht. Deckel und Zylinder abnehmen. Kolbenbolzen-Sicherungsringe mit einer Spitzzange entfernen. Kolbenbolzen durchdrücken und den Kolben abnehmen.

Bild 21

Vor dem Trennen der Gehäusehälften den Schaulochdeckel (zur Kontrolle des Axialspiels am Zahnrad des IV. Ganges) abnehmen und die Paßhülse der vorderen Motoraufhängung durchschlagen.

Bild 22

Dichtkappen an Lichtmaschinenlager (A) und Abtriebswelle (B) abnehmen. Alle 15 Gehäuseschrauben lösen - unter den Gummistopfen (Pfeile!) befinden sich drei davon! An der Rückseite der Aufnahme für den Zylinderhals ist zusätzlich noch eine Sechskantmutter (SW 10) mit Wellscheibe abzudrehen.

Bild 23

Rechte Gehäusehälfte abziehen:

Trennschraube 05-MV 70-2 und Einlegering (mit gleicher Nummer) am Kurbelwellenstumpf - Trennschraube 05-MV 71-2 auf der Abtriebswelle ansetzen.

Beide Spindeln zugleich und gleichmäßig anziehen!

Ohne dieses Spezialwerkzeug kann das Gehäuse nicht fachgerecht zerlegt werden. Durch Schlagen oder Drücken werden das Gehäuse bzw. die Dichtflächen beschädigt!

Bild 24

Beide Schaltarretierschrauben an der Gehäuseunterseite herausschrauben. Vorsicht - nicht die beiden Kugeln verlieren!

Das Zahnsegment (1) mit dem kompletten Schaltmechanismus sowie den Führungsbolzen (2) herausziehen. Nun können auch die beiden Schaltgabeln und die Kurvenwalze (3) entfernt werden. Die komplette An- und Abtriebswelle nur mit einem Plastikhammer bzw. Kupferdorn durchschlagen, damit bei ersterer nicht das Gewinde und bei letzterer nicht die Zentrierbohrung beschädigt werden. Muß die Abtriebswelle auf Rundlaufschlag kontrolliert werden, gibt es dann unnötige Nacharbeit.

Bild 25

Zum Herausdrücken der Kurbelwelle die Vorrichtung 05-MV 69-2 aufschrauben. In die Prismenführung wird die Trennschraube 05-MV 70-2 eingeschoben, die schon beim Trennen des Gehäuses (s. Bild 24) verwendet wurde.

Alle Kugellager in der linken Gehäusehälfte sind durch Sprengringe gesichert (siehe Schnittzeichnung, Bild 3). Nicht vergessen, diese vor dem Durchschlagen der Kugellager mit der Spitzzange zu entfernen (sie sind infolge des anhaftenden Öls nicht sichtbar!).

Für die zuverlässige Fehlersuche ist gründliche Säuberung aller Motorenteile Voraussetzung. Nicht nur die Teile überprüfen, die Funktionsstörungen verursachten, sondern alle Verschleißstellen kontrollieren und nachmessen. Nur so ersparen Sie sich die Kosten einer zweiten Reparatur nach kurzer Laufzeit.

Bild 26



4. Motor zusammenbauen

nächster Punkt ; Inhaltsverzeichnis

Von den peinlich sauber gereinigten Motorteilen nehmen wir als erstes beide Gehäusehälften und den Kupplungsdeckel vor.

Die Dichtflächen werden auf einer Tuschierplatte überprüft und notfalls etwas abgezogen, bis die ganze Fläche ohne Scharten oder Dichtmittelrückstände ist. Nur so haben Sie die hundertprozentige Gewißheit, daß der Motor dicht wird.

Steht keine Tuschierplatte zur Verfügung, genügt auch der Tisch einer Werkzeugmaschine, z. B. einer Säulenbohrmaschine.

Bild 27

Als nächstes wird in die linke Gehäusehälfte der Sprengring (Seegerring) für das Kurbelwellenlager sowie die außenliegenden Ringe (nach der Kupplung zu) der Lager für die Antriebs- und Abtriebswelle eingesetzt. Die Gehäusehälfte ist auf einem elektrischen oder Gaskocher bis auf etwa 100 °C zu erwärmen. Diese Maßnahme ist erforderlich, um alle Kugellager zwanglos einsetzen zu können - ohne zu verkanten und dabei die Gehäusebohrung (Lagersitz) zu beschädigen!

Verwenden Sie auf keinen Fall einen Schweißbrenner zum Anwärmen; durch örtliche Überhitzung kann sich das Gehäuse verziehen!

Bild 28



4.1. Kurbelwelle

nächster Punkt ; Inhaltsverzeichnis

Während sich das Gehäuse langsam erwärmt, werden die einzubauenden Lager sowie die Schlagdorne zurechtgelegt. Auch der komplette Schaltsatz und die Kurbelwelle müssen bereit, liegen, damit alle Teile eingebaut sind bevor das Gehäuse wieder abkühlt. Als Kurbelwellenhauptlager dürfen nur Sonderlager mit eingeätzter Bezeichnung C 003 f (geräuscharm) verwendet werden.
Reihenfolge der Montage:
Kurbelwellenlager 6305 mit Schlagdorn 05-MW 92-4
Kurbelwellendichtring mit 05-MW 91-4
Lager auf Antriebswelle 6204 mit 05-MW 106-4
Lager auf Abtriebswelle 6203 mit 05-MW 106-4

Bei Lagern mit Polyamidkäfig muß die offene Seite einmal nach innen und einmal nach außen liegen (siehe Bild). Nicht die inneren Sprengringe der zwei Getriebelager vergessen!
Für die Kurbelgehäuseabdichtung nur grüne Dichtringe verwenden

Bild 29

Inzwischen haben sich die kalt eingesetzten Kugellager vom heißen Gehäuse her erwärmt und die Kurbelwelle kann mit dem Oberteil der Kupplungsspannvorrichtung 05-MV 150-2 (zum Demontieren der Kupplung) und einem Rohrstück bis zum Ansatz eingezogen werden. Den Kurbelwellenstumpf vorher leicht einölen.

Bild 30

Von 1956 bis 1964 wurden vier Kurbelwellentypen verwendet:

  1. Älteste Ausführung, ohne seitliche Abdeckbleche.
    Wird nicht mehr gefertigt oder instandgesetzt.
    Als Ersatz ist Nr. 2 zu verwenden. Der Kurbelgehäuseraum muß in diesem Falle seitlich um je 1,5mm nachgedreht werden. Steht keine Drehmaschine zur Verfügung, kann das Gehäuse bei MZ, Abt. Kundendienst, kostenlos umgetauscht werden. Voraussetzung ist jedoch, daß es in einwandfreiem Zustand ist, d. h., Dichtflächen nicht beschädigt, Lagersitze noch maßgerecht usw.
  2. Mit Rollenlager für Pleuel und 28zähniges Antriebsrad. Erkennbar an den Führungsrillen (Pfeile) der Rollen. Hubscheiben mit seitlichen Abdeckblechen.
    Ausführung 1957/58.
  3. Rollengelagertes Pleuel und Nadellager am 28zähnigen Antriebsrad. Hubscheiben mit seitlichen Abdeckblechen.
    Ausführung 1959/60.
  4. Nadellager für Pleuel und 28zähniges Antriebsrad. Hubscheiben ohne Abdeckbleche (Polyamidstopfen). Der Kurbelwellenstumpf auf der Lichtmaschinenseite ist länger als bei den vorherigen Typen, deshalb können die /1-Kurbelwellen nur in /1-Gehäuse eingebaut werden.
    Alle Kurbelwellen haben 65 mm Hub, mit Ausnahme der ES 300 mit 72 mm.

Bild 31

Nur die für jeden Motortyp vorgesehene Kurbelwelle einbauen.

Nicht für eine ES 175 die Kurbelwelle der ES 250 verwenden. Beide haben zwar die gleichen Abmessungen, aber die Auswuchtung ist (entsprechend der Kolbenmasse) verschieden! Falsche Auswuchtung erzeugt starke Vibration, dadurch lockern sich alle Schraubverbindungen. Eingerissene Kotflügel und undichte Kraftstoffbehälter sind weitere Folgen.

Zusätzlich verzehren diese Schwingungen Kraft, der Motor kann nicht die zugesicherte Leistung bringen.

Um eventuelle Transportschäden festzustellen, sind auch neue Kurbelwellen auf schlagfreien Rundlauf zu untersuchen. Steht kein Rundlaufbock zur Verfügung, kann auch zwischen den Körnerspitzen einer Drehmaschine überprüft werden.

Bild 32

An allen Meßpunkten ist ein Rundlaufschlag von max. 0,03 mm zulässig.

Das Radialspiel der Pleuel mit käfiggeführtem Nadellager (alle /1-Typen und ES 300) muß im Neuzustand im Toleranzbereich von

0,015 ... 0,030 mm
liegen.

Der maximale Verschleißwert liegt bei 0,05 mm.

Bei den rollengelagerten Pleuelstangen der älteren ES-Typen beträgt im Neuzustand der Toleranzbereich (radial)

0,010 ... 0,015 mm.

Maximale Verschleißgrenze 0,05 mm.

Bild 33

Für alle Pleuelbuchsen ist ein Laufspiel von

0,02 ... 0,03mm

im Neuzustand vorgesehen.

Verschleißgrenze 0,045 mm.

Dabei ist zu beachten, daß die Pleuelbuchse meist oval ausgeschlagen ist.

Axialluft:

Nadelgelagertes Pleuel 0,25...0,4 mm,
Verschleißgrenze 0,55 mm.
Rollengelagertes Pleuel 0,15...0,25mm.

Bild 34



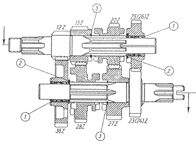
4.2. Getriebe

nächster Punkt ; Inhaltsverzeichnis

Alle Klauen der Schalträder sind auf Abnutzung zu untersuchen. Die 5°-Hinterschneidungen müssen noch zu drei Viertel tragen, andernfalls ist dieses Teil und auch das Zahnrad zu erneuern, in das die abgenutzten Klauen eingreifen. Die Hinterschneidung hält unter Belastung die Zahnräder im Eingriff - nicht die Schaltarretierung!

Beim Austausch des Zahnrades für den IV. Gang ist zu beachten, daß die ältere Ausführung 26 Zähne, die neue jedoch nur 25 hat. Es muß die dazugehörende Antriebswelle 05-846.67-0 (mit 23 Zähnen) eingebaut werden.

Für die beiden Schaltgabeln liegt die Verschleißgrenze bei 0,4 mm. Blau angelaufene Teile sind unbedingt auszuwechseln.

Bild 35

Am Schaltstück (mit Schaltwelle) geht es darum, daß die Rückholfeder für den Fußschalthebel (1) und die Schaltklinkenfeder (2) nach über 50000 Fahrkilometern noch genügend Federspannung haben. Im Zweifelsfall mit Neuteilen vergleichen.

Verschleißstellen (Pfeile) der Schaltklinken beachten!

Bild 36

Schaltsatz vormontiert.

Achten Sie darauf, daß sich die beiden 'schwimmenden' Lagerbuchsen (1) noch leicht in den Zahnrädern und auf den Wellen drehen.

Zeigen diese sowie die Anlaufscheiben (2) nach längerer Laufzeit starke Abnutzung, so sind die Teile zu erneuern.

Bei der Montage die beiden Sprengringe (3) nicht vergessen!

Bild 37

Schaltsatz montieren:
Durch das heiße Gehäuse erwärmen sich in der Zwischenzeit auch die Getriebelager. Die komplette An- und Abtriebswelle - so vormontiert, wie auf dem Schnittbild (Bild 37) gezeigt - werden nun gemeinsam eingesetzt und durch abwechselnde Schläge mit dem Plastikhammer (einmal auf Antriebs-, einmal auf Abtriebswelle) bis zum Aufsitzen am Lagerbund durchgeschlagen!
Bei der Antriebswelle muß zwischen 'schwimmender' Lagerbuchse und Kugellager 0,2mm Abstand bleiben.
Der Kontakt für die Leerlaufanzeige wird auf richtigen Abstand überprüft und bei Bedarf nachgebogen.
Als nächstes werden die beiden Schaltgabeln eingesetzt, der Führungsbolzen durchgeschoben (Unterlegscheibe 8x14 vorher unten einlegen) und die Schaltwalze mit den Kurvenbahnen in die Zapfen der Schaltgabeln eingeführt. (Im Bild ist der Getriebesatz von unten gezeigt, damit die Schaltgabeln sichtbar werden.)
Beide Schaltarretierschrauben in das Gehäuse einschrauben; die Kugeln rasten in die V-förmigen Einfräsungen der Kurvenwalze ein. Die Kugeln müssen in den Schrauben leichtgängig sein. Als Druckfeder nur die Originalfeder mit eingerollten Enden verwenden, sonst ergeben sich Schaltschwierigkeiten durch Verklemmen der Kugeln!
Auf einwandfreie Dichtringe achten, sonst ist der Motor undicht oder die Arretierschrauben schleifen an der Schaltwalze.
Durch Drehen der Schaltwalze mit dem Profilsteckschlüssel 02-MW 60-3 wird überprüft, ob bei allen vier Gängen die Klauen voll in Eingriff stehen. Sollte jedoch ein Schaltrad unter Druck anliegen, so muß die betreffende Schaltgabel etwas nachgerichtet werden, damit sie nicht durch dauerndes Schleifen blau anläuft.

Bild 38



Bild 39



Bild 40



4.3. Schalteinstellung

nächster Punkt ; Inhaltsverzeichnis

Nun zur Schalteinstellung:

Ein Zahn der Schaltwalze ist schräg angeschliffen.

An der Unterseite des Schaltsegments ist ein Zahngrund durch einen Körner markiert.

Um Fehleinstellungen auszuschließen, wird dieser durch einen Kreide- oder Bleistiftstrich auf die Oberseite übertragen, wie es auf nebenstehendem Bild gezeigt wird. Bei der neuesten Ausführung ist die Körner-Markierung bereits oben angebracht.

Beide Markierungen müssen unbedingt übereinstimmen.

Bild 41

Die Innenringe der beiden Getriebelager werden auf etwa 60 °C erwärmt (durch erhitzten Dorn!), damit sie durch leichtes Klopfen - unter Verwendung des Schlagdorns 05-MW 106-4 - in die erforderliche Lage kommen.

Werden die Lager kalt aufgeschlagen, so wird das Axialspiel von 0,2 mm der Lagerbuchse auf der Antriebswelle aufgehoben und das Zahnrad des IV. Ganges geht evtl. fest.

Außerdem schaden kräftige Prellschläge den Kugellagern.

Unterlegscheiben 8x14 auf den Führungsbolzen (wie auf der Unterseite) und 10x24x1,5 auf die Schaltwalze aufstecken.

Alle Wellen und Zapfen leicht einölen.

Bild 42



4.4. Rechte Gehäusehälfte aufsetzen

nächster Punkt ; Inhaltsverzeichnis

Durch diese Bohrungen wird das Kurbelwellenlager auf der Lichtmaschinenseite mit Getriebeschmiermittel (Motorenöl) geschmiert. Bei der Reinigung der Motorenteile darauf achten, daß beide Kanäle frei von Fremdkörpern und Schmutz sind.

Bild 43

In die bis auf etwa 100 °C erwärmte rechte Gehäusehälfte setzen wir nun den Radialdichtring 30x62x10 so ein, daß die Dichtlippe nach außen zeigt. Dazu ist der Schlagdorn 05-MW 91-4 zu benutzen, dessen überstehender Bund garantiert, daß der Dichtring richtig sitzt. Wurde er zu weit durchgeschlagen, so besteht die Gefahr, daß er beim Einsetzen des Lagers 6305 zurückgeprellt wird und an der Hubscheibe schleift.

Bild 44

Die Dichtfläche des Gehäuses wird nun dünn und gleichmäßig mit Dichtungsmittel bestrichen, die Gehäusehälfte aufgesetzt und durch leichte Schläge mit einem Plastikhammer - in der Nähe der Getriebelager - zum Aufliegen gebracht. Mit einem abgesetzten Dorn ist noch die Paßhülse in die vordere Motoraufhängung einzuschlagen, damit beide Gehäusehälften fixiert sind.

Was wir für den Einbau der rechtsseitigen Getriebelager vorschreiben, ist noch wichtiger für den Einbau des lichtmaschinenseitigen Kurbelwellenlagers:

Der Innenring muß mit einem erhitzten Dorn angewärmt werden, damit der warme Innenring auf dem kalten Kurbelwellenstumpf und der kalte Lageraußenring im erhitzten Gehäuse leicht gleitet. Nur

Bild 45

wenn die Lager zwanglos, d.h. ohne kräftige Hammerschläge, eingebaut werden, wird ein Verkanten vermieden, und sie laufen störungsfrei und geräuscharm! Wird das Lager kalt montiert (oder auch mit kaltem Gehäuse), so bringen Sie es nur durch kräftige Schläge bis zum Bund am Kurbelwellenstumpf und fühlen dabei nicht, ob der Innenring bereits anliegt oder nicht. Dadurch wird das Lagerspiel der Kurbelwellenhauptlager aufgehoben (die Lager 'heulen' und werden nach kurzer Zeit defekt) oder - was noch schlimmer ist - die Kurbelwelle wird seitlich verdrückt und bekommt 'Rundlaufschlag'. Demzufolge wird der Motor nicht vibrationsfrei laufen, unter Umständen hebt auch der Unterbrechernocken zweimal oder nicht an der höchsten Stelle des Nockens ab.
Mit dem Schlagdorn 05-MW 92-4 wird das innen angewärmte Lager durch leichtes Klopfen bis zum Anliegen an den Bund des Kurbelwellenstumpfes gebracht, wobei das Lager am Gehäuse noch etwa 4 mm vorsteht.
Alle 16 Gehäuseschrauben fest anziehen.
In Gehäusemitte anfangen, abwechselnd rechts und links, von innen nach außen und über Kreuz anziehen! Nach dem Überprüfen des Dichtringes 17x30x7 in der Dichtkappe ist mit der Schieblehre der Abstand (1) zwischen Dichtkappe und Kugellager auszumessen und durch Beilegen von Distanzscheiben ein Axialabstand von 0,4 mm herzustellen. Die Dicke der Original-Papierdichtung (2) von 0,1 mm ist dabei zu berücksichtigen.

Bild 46

Die Dichtkappe über Kreuz verschrauben! In gleicher Weise wird mit der Dichtkappe an der Abtriebswelle verfahren. Hier beträgt das Axialspiel 0,2 und muß an der Innenseite - an der 'schwimmenden' Lagerbuchse - vorhanden sein. Mit Ausgleichscheiben abstimmen und die Dichtkappe über Kreuz verschrauben. Das Axialspiel der Schaltwalze darf bis zu 0,2 mm betragen. Auf die Schaltwelle wird nun die Führungshülse (1) 05-MV 49-4 und der Schalthebel aufgesteckt und das Getriebe unter langsamen Durchdrehen probeweise durchgeschaltet. Am Gehäusedurchbruch für das Starterritzel (2) wird kontrolliert, ob die Lagerbuchse im Zahnrad für den I. Gang (Fensterrad) noch die vorgeschriebenen 0,2 mm Axialspiel hat. Durch das Schauloch überprüfen wir noch das Zahnrad des IV. Ganges. Auch hier 0,2 mm Axialspiel der Lagerbuchse.

Bild 47



4.5. Pleuel richten

nächster Punkt ; Inhaltsverzeichnis

Es ist durchaus möglich, daß durch unsachgemäßen Transport oder Lagerung die Pleuelstange der neuen Kurbelwelle geringfügig verdrückt wurde.

Da durch ein verdrehtes oder schiefes Pleuel nach kurzer Laufzeit die Pleuelbuchse ausgeschlagen wird, muß es gerichtet werden.

Bild 48

Am Spalt zwischen Dorn und Lineal ist die Achsparallelität der Kurbelwelle zum Kolbenbolzen ersichtlich (Verdrehung). Dorn und Lineal sind unter Nr. H 8-626-3, laufende Nr. 3 (18 mm), erhältlich. So wird geprüft, ob das Pleuel winklig steht. Lief der Motor bereits einige Zeit, so ist schon am Laufbild des Kolbens ersichtlich, ob das kleine Pleuelauge gerade steht oder nicht.

Bild 49

Zum Nachrichten immer gegenhalten. Nicht das ganze Pleuel verdrücken - es geht in die alte Stellung zurück!

Bild 50



4.6. Kolben und Zylinder montieren

nächster Punkt ; Inhaltsverzeichnis

Damit kein Staub oder andere Fremdkörper in das Kurbelgehäuse gelangen können, wird im nächsten Arbeitsgang Kolben und Zylinder montiert.

Die Signierung auf dem Kolbenboden bedeutet:

  1. Pfeil - muß im eingebauten Zustand in Richtung Auslaßfenster zeigen.
  2. 69,97 - das ist das 'Nennmaß' des Kolbens, d. h., dieser hat 69,97 mm Durchmesser. Mit einem Zylinder gepaart, der mit '+2' signiert ist, ergeben sich 0,05 mm Einbauspiel.

Bild 51

Gemessen wird das 'Nennmaß' an Unterkante Kolbenhemd. Der Kolbenschaft ist konisch - an der Ringpartie ist die schwächste Stelle.

Einbauspiel (Kolben-Zylinder)

    Verschleißwert
ES 175/1 0,04 mm 0,30 mm
ES 250/1 0,05 mm 0,35 mm
ES 300 0,06 mm 0,40 mm

Kolbenübergrößen

für jeden Typ:

8 Übermaße - jeweils um 0,25 mm dicker. Mehr als 2 mm darf nicht ausgeschliffen werden, weil sich dann evtl. die Zylinderlaufbuchse verformt.

Bild 52

Der Verschleißwert (Bild 52) bezieht sich auf die Meßwerte im oberen und unteren Viertel der Zylinderlaufbahn.

In der Mitte, zwischen den Kanälen, ist die Abnutzung naturgemäß etwas höher.

Der Pfeil zeigt auf die Signierung des Nennmaßes:

  0 = Vollmaß
+1 = 0,01 mm über Vollmaß
+2 = 0,02 mm über Vollmaß

Auch die Fertigmaße für Zylinderbohrung (gehont) und Kolbendurchmesser (geschliffen) sind toleriert. Und zwar mit jeweils 0,01 mm

(+ 4 μ) für jedes Teil
(- 6 μ)

Damit nicht obere Toleranzgrenze des Kolbens und untere Toleranzgrenze des Zylinders (oder umgekehrt) zusammenkommen, müssen beide Teile gemessen und entsprechend dem im Text zu Bild 52 vorgeschriebenen Einbauspiel ausgesucht werden.

Bild 53

Um Meßfehler auszuschließen, muß das Innenmeßgerät mit einem Lehrring (oder hilfsweise Mikrometer) auf das in Frage kommende Grundmaß von 68 bzw. 70 oder 72 mm genau eingestellt werden.

Bild 54

Alle MZ-Motoren haben ein 'symmetrisches' Steuerdiagramm. Bezogen auf den Überströmwinkel der ES 175/1 mit 110° heißt das, daß 55° vor dem unteren Totpunkt die Überströmkanäle öffnen und 55° nach UT schließen. Auslaß und Überströmen wird vom UT, Einlaß vom OT aus gemessen.

Steuerzeiten:

  ES 175/1 ES 250/1 ES 300
Einlaß mit Spitze 139° 140° 140°
Überströmen 110° 113° 113°
Auslaß 146° 150° 150°

Bild 55

Eine behelfsmäßige Gradscheibe kann von jedem größeren Schreibwarengeschäft (Schulbedarf) bezogen werden. Durch Aufnieten einer Blechscheibe wird sie für den Werkstattgebrauch verstärkt.

Bild 56

Wird ein gebrauchter Kolben wieder verwendet, so sind die Kolbenringe auf Leichtgängigkeit in den Ringnuten zu untersuchen. Besondere Aufmerksamkeit auf den oberen Ring richten - dieser bekommt die meiste Wärme. Bei anormal hoher Betriebstemperatur durch falsche Vergaser- oder Zündeinstellung kann er sich auch verziehen - erkennbar an der wellenförmigen Anlagefläche.

Ringnutenbreite Verschleißwert
2 +0,06 mm 2,10 mm
+0,04

Ringe mit zuviel Höhenspiel sind nicht mehr gasdicht und erzeugen ein 'schwirrendes' Geräusch.

Sind die Arretierstifte in den Ringnuten locker, kann der Kolben nicht wieder verwendet werden. Jeder Ring kommt wieder in die Nut (auch nicht seitenverkehrt!), in der er vorher war.

Bild 57

Zum Säubern der Ringnuten ist ein angeschärftes Kolbenringstück zu verwenden, weil mit Schaber oder Schraubenzieher evtl. die Nut erweitert wird.

Lose schuppenartige Rückstände auf dem Kolbenboden werden mit einer Drahtbürste entfernt. Die feste Schicht bleibt, weil sie den Kolben vor unerwünschter Wärmeaufnahme schützt.

Das gleiche gilt für Rückstände an der Ringpartie und am Kolbenhemd.

Bild 58

Kolbenringstoß
im Neuzustand: 0,2 mm

Verschleißwert: 1,5 mm
Zu wenig Ringstoß verklemmt die Kolbenringe - durch erhöhte Reibung starker Verschleiß! Die Ansicht, daß durch Einbau eines Satzes neuer Kolbenringe die Leistung eines längere Zeit gelaufenen Motors verbessert wird, ist falsch. Die Zylinderbohrung ist entsprechend der Fahrleistung mehr oder weniger oval, die neuen Ringe aber sind rund. Demzufolge schlagen die Verbrennungsgase durch, die Ringe werden aufgeheizt, verziehen sich und sitzen dann evtl. fest.

Bild 59

Klemmspuren werden nur mit der Schlichtfeile oder mit einem Ölstein (Schmirgelfeile) entfernt, nicht mit Schmirgelleinen oder -papier. Nebenstehender Kolben hat geklemmt, weil der Kolbenbolzen zu stramm in den Bolzenaugen saß!

Bild 60

Zum Einschieben des Kolbenbolzens darf der Kolben nicht unterkühlt, sondern muß 'handwarm' (etwa 35...40°C) sein.

Nachdem die Pleuelbuchse geölt und der Kolben auf die Unterlage 05-MW 16-4 gesetzt wurde, kann mit Hilfe des Führungsdornes 05-MW 19-4 der Kolbenbolzen mit dem Daumen eingedrückt werden.

Bild 61

Die Sicherungsringe werden so eingesetzt, daß die Ösen nach oben oder unten zeigen - nicht seitwärts. Auf einwandfreien Festsitz in den Nuten ist besonders zu achten.Nur neue Sicherungsringe verwenden! Folgende Kolbenbolzenübergrößen stehen zur Verfügung:
0,01 mm
0,02 mm
0,03 mm

Bild 62

Ausgeschlagene Pleuelbuchsen werden mit der Vorrichtung O 5 H 8-594-V 3 ausgewechselt.
Die neue Pleuelbuchse mit Fertigmaß wird auf die Vorrichtung aufgeschoben und drückt beim Anziehen der Mutter die alte Buchse heraus. Darauf achten, daß die zu bohrenden Schmierlöcher in den Ölfangtaschen münden. Die Löcher sauber entgraten! Die Passung nicht zu eng halten, das Gleitlager braucht einen zusammenhängenden Schmierfilm!
Unbedingt mit Dorn und Lineal auswinkeln!

Bild 63

Der Kolbenring-Spannring

02-MW 35-4 für ES 175/1
05-MW 17-4 für ES 250/1
15-MW 1-4 für ES 300

wird mit der abgerundeten Seite über die Ringpartie geschoben. Dabei darauf achten, daß der Ringstoß an den Arretierstiften steht, sonst bricht der betreffende Ring!

Um die Zylinderfußdichtung vor Beschädigungen zu schützen, kleben wir sie mit zwei Fettupfen am Zylinder fest. Nun noch die Zylinderlaufbahn mit Motorenöl einreiben und der Zylinder kann - bitte ohne Gewaltanwendung! - über den Kolben geschoben werden.

Kolbenunterlage herausziehen und den Schlitz des Spannringes über einen der vier Stehbolzen schieben. Nach einer Drehung von 180° ist es möglich, das Pleuel und den Stehbolzen durch den Schlitz zu führen, und der Spannring ist frei.

Dabei ist der Zylinder mit einer Hand festzuhalten, damit er nicht niederrutscht.

Bild 64

Zwischen Zylinder und Zylinderdeckel ist keine Dichtung vorgesehen. Nicht aus Ersparnisgründen, sondern um besseren Wärmeübergang zu erzielen.
Die Dichtflächen des Zylinderdeckels (auf alle Fälle) und des Zylinders sind, auf der Tuschierplatte zu überprüfen, ob sie plan sind.
Ist der Deckel stark verzogen, so kann mit Hilfe eines Drehdornes mit Gewindezapfen M14x1,25 nachgedreht werden. Er wird am Zündkerzengewinde aufgenommen.
Nicht mehr als 0,3 mm nachdrehen, das Verdichtungsverhältnis wird sonst zu hoch. Die vier Stützecken müssen 0,1...0,15 mm zurückstehen, nicht mehr!

Bild 65

Fast ausnahmslos ist für undichte Zylinderdeckel das falsche Anziehen derselben verantwortlich. Es muß immer 'über Kreuz' angezogen werden, d. h., in der Reihenfolge 1-2-3-4. Zuerst nur leicht an ziehen, erst bei der zweiten Runde wird mit etwa 5 kpm angezogen. Der Verbrennungsraum hat in Serienausführung bei eingeschraubter Zündkerze einen Kubikinhalt von

ES 175/1 ES 250/1 ES 300
21,4 cm3 33 cm3 38 cm3

Zum Auslitern Kraftstoffgemisch verwenden - mit Meßglas einfüllen. Zur Kontrolle eine Glasscheibe darüberlegen - an der mehr oder weniger großen Luftblase ist ersichtlich, ob der Zylinderdeckel wirklich voll ist.

Bild 66

Nachdem das. Gehäuse abgekühlt ist, werden alle 15 Gehäuseschrauben nochmals nachgezogen - die Mutter des Stehbolzens am Zylinderhals ebenfalls. Die drei Bohrungen (Pfeile) wieder mit den Gummistopfen verschließen.

Bild 67



4.7. Kupplung und Primärantrieb

nächster Punkt ; Inhaltsverzeichnis

Als nächstes wird der Primärantrieb und die Kupplung angebaut. Dazu ist der Motor um 180° zu schwenken. Zuerst wird das 68zähnige Antriebsrad aufgesetzt. Nur drücken oder ganz leicht klopfen, bis das Nutprofil eingefädelt ist. Nicht durch Hammerschläge aufkeilen - dabei wird die Antriebswelle durchgeschlagen und damit das Axialspiel der 'schwimmenden' Lagerbuchse aufgehoben. Den Gegenhalter 05-MW 15-3 ansetzen, Sicherungsblech auflegen und die Mutter (und damit auch das Rad) mit dem Steckschlüssel (SW 24) fest anziehen. Sicherungsblech umlegen.

Bild 68

Das von vielen MZ-Freunden als störend empfundene Geräusch, das verschwindet, wenn die Kupplung gezogen wird, hat seine Ursache darin, daß das 28zähnige Antriebsrad mit Kupplungsmitnehmer - bedingt durch die Schrägverzahnung - beim Lastwechsel pendelt. Es ist zu viel Axialspiel vorhanden!Zulässiges Axialspiel 0,05 mm bis max. 0,1 mm.Nicht weniger, das 28zähnige. Antriebsrad wird dann seitlich festgeklemmt - die Kupplung trennt Motor und Getriebe nicht mehr. Außerdem rutscht der Kupplungskörper auf den Kurbelwellenkonus. Zur Überprüfung muß die Meßstelle ölfrei sein. Die Auflaufscheibe 19x34x3 (1) ist als obere Begrenzung des Meßbereiches aufzulegen und niederzudrücken.

Bild 69

Wem das nötige Fingerspitzengefühl für eine exakte Messung fehlt, kann sich die unter 05-ML 13-4 beschriebene Meßeinrichtung selbst anfertigen. Abmessungen siehe Selbstbauskizze im Anhang!

Ein Kupplungskörper kann dazu ohne großen Arbeitsaufwand entsprechend umgearbeitet werden.

Als obere Begrenzung ist zum Messen eine Anlaufscheibe 19x34x3 einzulegen. Für den Durchgang des Meßuhrstößels ist seitlich eine Kerbe in die Scheibe einzuschleifen.

Bild 70

Die am Schraubenzieher anliegende Anlaufscheibe steht in drei Dicken zur Verfügung:
1,9mm; 1,95mm; 2,0mm.
Das gemessene Axialspiel wird durch Einlegen der entsprechenden Anlaufscheibe auf das zulässige Maß von 0,05 bis max. 0,1 mm abgestimmt. Am zweireihigen Nadellager des 28zähnigen Antriebsrades tritt kein meßbarer Verschleiß auf. Eine Korrektur des Lagerspieles kann durch Auswechseln des Antriebsrades (untere bis obere Toleranzgrenze) erfolgen. Bei der Überprüfung des Zahnflankenspieles am Primärantrieb muß das Radialspiel der Lager auf Kurbel- und Antriebswelle mit berücksichtigt werden. Sind diese verbraucht, so ergibt sich aus der Summe von drei Lagerspielen auch anormal hohes Zahnflankenspiel. Ein Auswechseln des Zahnradpaares ohne neue Lager ist in diesem Fall zwecklos.

Bild 71

Eine zwar primitive aber zuverlässige Meßmethode: Ein Streifen Bleifolie (oder ausgehämmerter Bleidraht) wird zwischen zwei bis drei Zähnen durchgedreht und der gewonnene Abdruck in Höhe des Teilkreises (Zahnmitte) mit dem Mikrometer gemessen.
Die Verschleißgrenze liegt bei 0,25 mm. Hat der Kupplungmitnehmer radial mehr als 0,3 mm Spiel, müssen die Reibbelaglamellen erneuert werden (Geräusche!) Haben sich die Lamellen bereits im Mitnehmer eingeschlagen, dann legt die Kupplung durch die rillenartigen Vertiefungen im Nutprofil schlecht aus. Das Kupplungsdrucklager (30x47x11) im Druckflansch ist so reichlich bemessen, daß auch nach erheblichen Laufleistungen kaum Verschleiß auftritt.

Bild 72

Kupplungsspannvorrichtung 05-MV 150-2.
Durch Anziehen der Knebelmutter wird der Kupplungsdruckflansch entspannt. Nach Aufbiegen der Sicherungsbleche können nun die Muttern der Distanzbolzen und die Sechskantschrauben entfernt werden. Die komplette Kupplung ist ausgewuchtet, deshalb beim Zusammenbau auf die drei Markierungen achten! Schrauben und Muttern sorgfältig sichern - nur neue Sicherungsbleche verwenden! Zur Montage den Kupplungsmitnehmer einsetzen, damit die Lamellen zentriert werden!

Bild 73

Reibbelaglamelle: 3,4 ±0,1 mm
Verschleißwert: 3,2mm
Stahllamelle: 1,0mm

Wenn blau angelaufen oder nicht mehr plan - auswechseln.

Druckfedern: Länge entspannt 27 mm
  Druck (P) normal 20 kp
  bei einer Einbaulänge von 17 mm

Bild 74

Reihenfolge der Montage:

  1. Innere Anlauf-(Ausgleich-)Scheibe
  2. Antriebsrad mit Nadellager
  3. äußere Anlaufscheibe (Pfeil!)
  4. Federscheibe
  5. Kupplung.

Der Kupplungskonus sitzt ohne Keil auf dem Kurbelwellenstumpf. Damit diese Verbindung auch wirklich kraftschlüssig ist, muß auf guten Zustand der Konen geachtet werden. Im Zweifelsfall ganz dünn feinkörnige Schmirgelpaste auftragen und durch Verdrehen der lose aufgesteckten Kupplung leicht nachschleifen, bis der Konus über die ganze Fläche trägt.

Gut abdecken, damit kein Schmirgel in das Kugellager kommt!

Wurde nachgeschliffen, muß das Axialspiel neu ausgeglichen werden.

Beide Konen säubern (ölfrei!), Kupplung aufsetzen und mit Hilfe eines passenden Distanzrohres sowie der Kronenmutter anziehen (8 kpm!). Nach dem Lösen der Mutter muß die Kupplung - trotz des Druckes der untergelegten Federscheibe - auf dem Kurbelwellenstumpf haften.

Im Kupplungsdeckel ist das Kugellager 6302 auf Verschleiß zu überprüfen und gegebenenfalls auszuwechseln. Dazu muß der außenliegende Sprengring entfernt werden.

Bild 75

Zum Spannen der Kickstarterfeder wird die vormontierte Starterwelle im Schraubstock eingespannt - Kupferbacken oder zwei Holzbeilagen zwischenlegen! Reihenfolge der Montage:
Anlaufscheibe auf Starterwelle aufschieben, Federspange aufschieben, abgewinkeltes Ende der Feder in die Bohrung der Welle stecken.
Angewinkeltes Ende in die Bohrung im Kupplungsdeckel einführen - dabei diesen auf die Starterwelle aufschieben und letztere im Schraubstock einspannen.
Gummidichtring und Abdeckscheibe sowie Kickstarter aufstecken.
Den Kupplungsdeckel etwa 1 1/4 Umdrehungen nach links drehen und von oben her die Keilschraube einschlagen und anziehen.

Bild 76

Am Kupplungsdruckstück ist das Schneckengewinde zu überprüfen. Vorhandener Grat oder scharfe Kanten werden mit der Schmirgelfeile beseitigt. Das Druckstück nur in der auf nebenstehendem Bild gezeigten Stellung einführen, sonst funktioniert die Kupplungsbetätigung nicht. Bevor der Kupplungsbowdenzug eingehängt wird, ist dieser gründlich durchzuölen. Möglichst mit MoS2- oder Graphitzusatz. Damit das Bowdenzugnippel nicht aus der Öse am Druckstück herausrutscht (Montage oder Seilriß), wird diese mit der Zange etwas zusammengedrückt.

Bild 77

So sieht der fertig montierte Kupplungsdeckel aus! Bitte darauf achten, daß der Gummidichtring (1) für die Abschlußkappe nicht beschädigt ist und die drei Befestigungsschrauben mit je einem Kupferdichtring (2) versehen sind, sonst wird die Abschlußkappe nicht öldicht. Die Stellplatte (3) greift mit ihren beiden Nasen in die Aussparungen der Lagerbuchse. Muß letztere ausgebaut werden, dann wegen des außenliegenden Bundes von innen nach außen durchdrücken!

Bild 78

Bevor der Kupplungsdeckel aufgesetzt wird, überprüfen, ob die Kupplung noch auf dem Konus haftet: Distanzhülse aufstecken (nicht vergessen!), Papierdichtung auflegen (ohne Dichtmittel!), Deckel aufsetzen und durch leichte Schläge mit dem Plastikhammer niederklopfen. Es geht dabei um den Haftsitz des Lagers 6302! Nach dem sorgfältigen Anziehen (in der Mitte beginnen, über Kreuz) der Deckelschrauben wird die Kronenmutter (SW 22) aufgeschraubt und mit etwa 8 kpm festgezogen. Zum Gegenhalten wird der 18-(20-)mm-Kontrolldorn in das kleine Pleuelauge gesteckt oder, wenn der Zylinder schon montiert ist, der Gegenhalter 05-MW 45-3 an das Getriebekettenrad angesetzt - ersten Gang einschalten.

Bild 79

Für die Kronenmutter immer nur einen neuen einwandfrei passenden Splint verwenden und beide Schenkel mit einer Zange andrücken, damit sich der Splint nicht lockern kann. Bruchstücke eines durchgescheuerten Splintes können den Primärantrieb blockieren! An der Lagerbuchse wird die Grobeinstellung der Kupplung vorgenommen. Die gezeigte Schlagstellung ergibt weniger Kupplungsspiel, andersherum wird es mehr. Nur einen stumpfen Stemmer oder Kupferdorn benutzen, damit die Kanten der Lagerbuchse nicht beschädigt werden. Es ist zweckmäßig, diese Einstellung am Fahrzeug vorzunehmen. Dazu ist die Schnellverstellung am Kupplungshandhebel so weit als möglich herauszudrehen - damit der volle Verstellweg zur Verfügung steht - und die Grobverstellung so weit zu klopfen, bis am Kupplungshandhebel 3...4 mm Spiel vorhanden ist. Stellplatte und Gummidichtring einlegen, Abschlußkappe verschrauben. Sind die Kupferdichtringe der Befestigungsschrauben stark verdrückt, dann durch neue ersetzen.

Bild 80

Hat der Kupplungsdeckel die Bowdenzugaufnahme außen, dann muß die Stellplatte (mit Lagerbuchse) vor dem Anbau des Deckels eingestellt werden. Zwischen Druckstück (1) und Gehäuserippe ist ein Abstand von 6 mm erforderlich. Innerhalb dieses Bereiches wird im Fahrbetrieb der Verschleiß der Reibbeläge und Lamellen durch die Schnellverstellung am Kupplungshandhebel ausgeglichen. Als Hilfswerkzeug ist ein auf die Planfläche des Deckels passendes Rohrstück zu verwenden. Rohr aufsetzen, Dorn durch Rohr und Nippelöse schieben. Stellplatte so weit klopfen, bis das Rohr anliegt, und 6 mm Abstand vorhanden sind.

Bild 81

So wird der Kupplungsbowdenzug eingehängt! Auf guten Zustand (öldicht!) des Dichtringes achten. Anbau des Deckels wie bei vorheriger Ausführung beschrieben. Bei Umbau der vorherigen Ausführung - mit innenliegender Seileinhängung - müssen außer dem Kupplungsdeckel auch Druckstück und Lagerbuchse gewechselt werden. (Zur leichteren Kupplungsbetätigung haben beide Teile flachere Gewindesteigung!) Zusätzlich noch die gezeigten Kleinteile mit Bowdenzug (kürzer!) verwenden.

Bild 82

Ist der Motor komplettiert, wird sofort - um es nicht zu vergessen - Getriebeschmiermittel aufgefüllt:
750 cm3 Motorenöl mit einer Viskosität von

92 cSt/50 °C - 12 °E = SAE 40 im Sommer
76 cSt/50 °C - 10 °E = SAE 20 im Winter.
Nur unlegierte Motorenöle verwenden, alle Wirkstoffe (Additives) verursachen Kupplungsrutschen. Das gilt auch für Graphit- und Molybdändisulfid-Zusätze. Ölmenge genau abmessen. 'Etwas mehr' kann die Ursache sein, daß an der Höchstgeschwindigkeit 10 km/h fehlen. Die Kupplung wirkt in diesem Falle als 'Wirbelbremse'! Zum Druckausgleich muß die Entlüftungsbohrung (Pfeil) im Verschlußstopfen offen sein. Tritt Öl heraus, überprüfen, ob zuviel eingefüllt oder Kraftstoff im Getriebe ist (Dichtring auf der Kurbelwelle undicht).

Bild 83



5. Elektrische Anlage

Bei der Überprüfung der Elektroteile geht es grundsätzlich nur darum, einwandfrei festzustellen, welches Teil tatsächlich defekt ist. Für die Instandsetzung sind nur IKA-Vertragswerkstätten zuständig.

5.1. Lichtmaschine überprüfen

nächster Punkt ; Inhaltsverzeichnis

Anker auf Masseschluß überprüfen
Prüfspannung möglichst 60...75 V - mit entsprechender Vorsicht sind auch 220 V (Netzspannung) zulässig. Auf alle Fälle eine einwandfreie isolierte Unterlage verwenden. Prüflampe zwischenschalten und mit der Prüfspitze die einzelnen Lamellen abtasten. Leuchtet die Lampe nicht auf, so ist die Isolierung von Anker und Kollektor in Ordnung. Glimmt die Lampe dunkelrot, so liegt ein schwacher, bei hell leuchtender Lampe ein starker Masseschluß vor - der Anker muß ausgetauscht werden.

Bild 84

Eine gleichmäßig braune bis grau-schwarze Färbung der Kollektorlaufbahn ist ohne Bedeutung. Sind jedoch Laufrillen und Riefen vorhanden, muß der Kollektor vom Fachmann überdreht (Dorn) werden, denn nur 0,03 mm Rundlaufschlag sind zulässig.

Mehr Schlag ergibt starkes Kontaktfeuer (weil die Schleifkohlen 'springen'), verursacht Brandstellen auf der Kollektorlaufbahn - die Lichtmaschine kann nicht die volle Nennleistung abgeben!

Nach dem Überdrehen die Glimmerlamellen ausfräsen oder aussägen. Diese zeitraubende Arbeit muß sein, sonst fräst der vorstehende Glimmer die Schleifkohlen ab.

Übrigens - haben die Kurbelwellenhauptlager zuviel Radialspiel, so ergibt sich annähernd derselbe Zustand! Verölte und verschmutzte Kollektorlaufbahnen werden mit einem faserfreien, benzingetränkten Lappen gesäubert.

Bild 85

Feldentwicklung auf Masseschluß überprüfen
Regelwiderstand abnehmen und den Feld-Minusanschluß (auf dem Widerstandsockel angeklemmt) neutral legen. Plusanschluß an DF (Dynamo-Feld) ebenfalls abnehmen, denn ein Masseschluß kann schon im Anschlußbolzen DF liegen. Eine Prüfspitze an Masse, die zweite an Anschlußbolzen DF. Zum anderen an die Plusseite der Feldwicklung, die zweite Prüfspitze an Masse. Leuchtet bei beiden Prüfungen die Prüflampe nicht auf, so ist kein Masseschluß vorhanden. Feldwicklung auf Windungsschluß überprüfen. Die Prüfspitzen eines Ohmmeters werden an die Plus- und Minusseite der Feldwicklung gelegt. Das Ohmmeter muß 2,7...3,1 Ohm anzeigen. Geringerer Wert = Windungsschluß
Kein Ausschlag = Feldwicklung unterbrochen

Defekte Feldspulen nur durch den Elektrodienst auswechseln lassen!

Bild 86

Schleifkohlen
Nach dem Lösen der Anschlüsse und Abdrücken der Federspangen können beide Schleifkohlen herausgezogen und mit einem Benzinlappen abgewischt werden - nicht abfeilen! Auch die Kohlenhalter sind zu säubern - die Kohlen müssen leichtgängig sein. Vor dem Wiedereinsetzen die Druckfedern (nur einwandfreie, nicht deformierte) auf die Kohlen aufstecken und darauf achten, daß diese auch am Ansatz der Federspangen einrasten. Andernfalls können die Federn seitlich verklemmt werden.
Bis auf etwa 9 mm abgenutzte Kohlen sind zu erneuern.

Bild 87

Regel-(Vorschalt-) Widerstand
Ein durchgebrannter Regelwiderstand wird vom Fachmann schon an der unregelmäßigen Zündfolge und unter Umständen durch Zündaussetzer bei hohen Drehzahlen erkannt. Der verschmorte Isolierlack der Widerstandspule ist dann die Bestätigung. Nicht nur den Widerstand auswechseln, auch die Schadenursache muß beseitigt werden. Zum Beispiel: Leitung D+ am Regler locker oder abgerissen (Kurzschluß!). Angeschlossen wird

langes Kabel (gelb-rot) an D+ (Pluskohle)
kurzes Kabel (schwarz) an DF (Feld-Plus)

Kabelschuh 'Feld-Minus' an die Befestigungsschraube des Widerstandes mit anklemmen.

Bild 88



5.2. Zündunterbrecher überprüfen und einstellen

nächster Punkt ; Inhaltsverzeichnis

Der Nocken muß auf dem Nockenträger leichtgängig sein, darf aber nicht mehr als 0,15 mm Radialspiel haben. Andernfalls hebt der Unterbrecher ungleichmäßig ab. Schlechte Leistung und Zündaussetzer sind die Folge. Nach dem Beseitigen der verbrauchten Schmiermittelreste (Benzin!) sind die Lagerbolzen der Fliehgewichte, die Mitnehmer des Nockens sowie die Lagerstelle des Nockenträgers leicht mit Heißlagerfett 'Ceritol M 28 T 5' (oder T 3) einzufetten.
(Für Auslandskunden: Ein Marken-Heißlagerfett mit einem Tropfpunkt von 145...155 °C verwenden. Einsetzbar zwischen Temperaturen von -25 °C bis +95 °C.)
Beim Aufschieben des Nockens darauf achten, daß die eingeschlagene Markierung '0' des Nockens mit der '0' des Nockenträgers übereinstimmt.

Bild 89

Kurbelwellenstumpf (Konus) abwischen, Keil einsetzen und Anker aufschieben. Polgehäuse aufsetzen und festziehen. Dabei auf Arretierstifte und Zentrierrand achten - nicht gewaltsam verdrücken! Der zylindrische Ansatz des Nockenträgers zentriert diesen im Anker. Für einwandfreien Rundlauf muß die Bohrung schartenfrei und sauber sein. Vorsicht - die Nase der Ankerbohrung muß unbeschädigt in die Nut des Nockenträgers einrasten, sonst kommen Sie mit der Verstellmöglichkeit der Unterbrechergrundplatte nicht aus. Nockenträger und Anker mit der Schraube M 7 anziehen. Die Unterlegscheibe - nicht der Federring - liegt am Nockenträger an. Der Nocken muß sich leicht, entgegen (Federdruck!) der Drehrichtung des Motors, verdrehen lassen.

Bild 90

Die Zündeinstellung beginnt mit der Überprüfung der Unterbrecherkontakte: Anschlußschraube (1) der Stromschiene vom Kondensator lösen, Unterbrecherhammer abnehmen. Kontaktflächen mit Schmirgelfeile säubern. Bei starkem Abbrand (tiefe Krater) neue Teile einsetzen. Die Kontakte müssen plan aufliegen; am Kontaktwinkel kann nachgerichtet werden. Alte Schmiermittelreste am Lagerbolzen (2) entfernen. Einen Tropfen Hypoid-Öl gleichmäßig auftragen, Unterbrecherhammer wieder aufsetzen.
Im Ausland: Druckfestes Getriebeöl mit einem Stockpunkt von -15 °C verwenden (entspricht etwa SAE 90).

Bild 91

Außergewöhnlich starker Abbrand der Kontaktflächen deutet auf defekten Kondensator (Anfangsstadium). Schlagen mehrere Lagen der Kondensatorwicklung durch, läuft der Motor zwar im Leerlauf, setzt aber beim Beschleunigen aus (Einstellversuche am Vergaser sind in diesem Fall natürlich erfolglos). Auf guten Masseschluß achten! Zum Einstellen des Kontaktabstandes von 0,3 bzw. 0,4 mm wird die Kurbelwelle verdreht, bis die höchste Stelle des Nockens ('0') den Unterbrecherhammer abhebt. Die Prüflehre muß beide Kontakte leicht streifen; darf also nicht klemmen oder klappern. Verstellt wird nach dem Lockern der Klemmschraube (3), indem zwischen den Warzen an der Unterbrechergrundplatte und den zwei Einschnitten am Kontaktwinkel ein Schraubenzieher angesetzt wird. Durch seitliches Verdrehen wird der gewünschte Abstand hergestellt. Klemmschraube gut festziehen und Kontaktabstand nochmals kontrollieren.

Kontaktabstand: ES 175/1 0,4 mm
  ES 250/1 0,4 mm
  ES 300 0,4 mm

Besonders sorgfältig messen, wenn der Zündzeitpunkt bereits eingestellt ist und nur die Kontakte nachreguliert werden.

 

Denn: mehr Kontaktabstand ergibt mehr Vorzündung (der Unterbrecher läuft schon am Fuße des 'Nockenberges' auf). Weniger Kontaktabstand (falsch eingestellt oder Verschleiß) ergibt weniger Vorzündung. (Der Unterbrecher streift nur kurz die höchste Stelle des Nockens. In der Zündspule kann sich kein kräftiges Spannungsfeld aufbauen = schwacher Zündfunken! Der Motor 'patscht' durch den Vergaser!)

Bild 92

Der Zündzeitpunkt wird ausnahmslos nur bei voll ausgedrückten Fliehgewichten eingestellt. Nur in dieser Stellung ist er über den ganzen Drehzahlbereich unverändert wirksam. Die Fliehgewichte regeln nicht, sondern öffnen bereits nach dem Antreten voll. Sie sind nur eine Rückschlagsicherung für das Starten. Dem Bastler sei gesagt, daß eine drehzahlabhängige Zündverstellung (oder von Hand) keine Mehrleistung bringt! Zündeinstellehre H 8-1408-3 (Spezialwerkzeug) oder ähnliche Lehre mit genauer Meßmöglichkeit (Meßuhr!) einschrauben. Bei der ES 300 kann bei eingebautem Motor wegen des geringen Zwischenraumes nur die Zündeinstellehre H 8-1408-3 verwendet werden.

Bild 93

Zündeinstellung nur mit der Prüflampe!
Eine Klemme der Lampe an Anschluß '1' am Kondensator (oder Stromschiene), zweite Klemme an Masse. Wird außerhalb des Fahrzeugs eingestellt, dann 6-V-Batterie mit Plus an '1', Minus an Masse. Kolben auf OT stellen, Schieber der Einstellehre auf '0'. Zündung einschalten. Fliehgewichte bis zum Anschlag auseinanderdrücken und festhalten. Kurbelwelle entgegen der Motordrehrichtung (Pfeil im Kreis) so weit drehen, bis an der Lehre der vorgeschriebene Wert erreicht ist. In diesem Moment muß die Prüflampe aufleuchten. Wenn nicht, dann die beiden Schrauben (1) lockern und die Unterbrechergrundplatte seitlich verschieben. Abschließend auf richtige Lage der Fliehgewichtfedern achten.

Vorzündung: ES 175/1 4,0 mm vor OT
  ES 250/1 3,3 mm vor OT
  ES 300 3,0 mm vor OT

Bild 94



5.3. Zündkerze und Kerzenstecker

nächster Punkt ; Inhaltsverzeichnis

Nicht so mit der Zündkerze umgehen! Durch kaum sichtbare Haarrisse im Keramikkörper wird sie schon unbrauchbar. Außerhalb des Motors springt zwar an den Elektroden ein kräftiger Funke über, im Motor (unter Druck) sucht sich jedoch der Zündstrom einen anderen Weg.

Bild 95

Auch vom guten Zustand des Kerzendichtringes hängt die einwandfreie Funktion der Zündkerze ab. Er muß gasdicht abschließen, sonst heizen durchschlagende Verbrennungsgase die Kerze so auf, daß trotz richtigen Wärmewertes Glühzündungen auftreten. Das zerklüftete Kerzeninnere nimmt mehr Wärme auf, als der glatte Verbrennungsraum - ein stark deformierter Dichtring hemmt aber den Wärmeaustausch. Im Moment des Zündvorganges sind das über 2400 °C! Das Kerzengewinde muß bündig abschließen. Vorstehende Gewindegänge von Kerze oder Zylinderdeckel verursachen Überhitzung. Hochoktanischen Kraftstoffen wird Bleitetraäthyl zugesetzt. Daraus kann sich, besonders bei überalterten Kraftstoffen, Bleioxid absetzen. Bleioxid ist durchsichtig, außer einer leichten 'Glasur' im Kerzeninneren ist nichts erkennbar. Diese Glasur wird bei 300...400 °C stromleitend, kalt aber nicht! Wenn der kalte Motor einwandfrei anspringt und die Zündung setzt bei warmem Motor aus, so hilft nur eine neue Zündkerze! Die als 'Kerzenbrücke' bezeichnete Überbrückung von Masse- und Mittelelektrode entsteht durch erhöhte Elektrodentemperatur in Verbindung mit ungenügend gefilterter Ansaugluft. Das vom Zündfunken ausgelöste Spannungsfeld reißt die Strompartikeln nach der Masseelektrode und setzt sie dort an, bis die Kerze kurzgeschlossen ist. Für Normalbetrieb ist die Isolator-Zündkerze M 14/240 zu verwenden. Sportlichen Fahrern ist die Isolator-Kerze RM 14/250 S zu empfehlen. Kerzengewinde M14x1,25 mm Steigung. Häufig verursacht der teilabgeschirmte Kerzenstecker Zündverzögerung (schlechte Motorleistung) oder Zündaussetzer, die einfach durch einen neuen Stecker beseitigt werden. Das ist Materialverschwendung; mit einigen Handgriffen wird der alte Stecker wieder funktionstüchtig!

 

Die zwischen den Kerzenelektroden überspringenden Zündfunken erzeugen ein hochfrequentes Spannungsfeld, das über die Zuleitung an die Umgebung abstrahlt. Das Zündkabel wirkt dabei (besonders feuchtschmutzig) als Antenne. Ein Entstörwiderstand dämpft diese Schwingungen. Am wirksamsten ist dieser in der Nähe der Elektroden. Zündkerzen mit eingebautem Entstörwiderstand werden jedoch noch nicht serienmäßig eingesetzt. Normale Zündkerzen werden entstört, indem der Widerstand (1) das Kerzenkabel abschirmt. Die Oberfläche des Steckers ist mit einer metallischen Abschirmung (2) überzogen, die das Spannungsfeld des Steckers über das federnde Unterteil auf Masse ableitet. Diese Abschirmung verursacht bei mangelnder Pflege Zündstörungen:
Die mit dem Fahrtwind herangetragenen Staub-, Wasser- und Ölpartikel werden durch das hochfrequente Spannungsfeld mit hoher Geschwindigkeit an das Innere des Steckers und der Abschirmung (Masse) gerissen. Mit der Zeit bildet sich daraus ein elektrisch leitender Belag. Der Zündfunke wird zunehmend schwächer, bis er endgültig wegbleibt. Durch Auspinseln mit einer Waschlösung oder Waschbenzin ist dieser Belag zu entfernen, der Stecker auszublasen und trockenzureiben. Die Kontaktfedern (3) müssen am Kerzensechskant anliegen, sonst wird UKW- und Fernsehempfang unzulässig gestört. An den Kontaktflächen muß der Widerstand (1) oxidfrei sein. Die Kontaktfläche im Stecker wird mit einem Holzstäbchen gesäubert. Lockere oder angerußte Widerstände sind unbrauchbar.

Bild 96



5.4. Zündspule

nächster Punkt ; Inhaltsverzeichnis

Die Zündspule ist ein Paket haardünner Drähte (Sekundärwicklung), deshalb die Klemmschelle (K) nicht gefühllos anziehen. Beide Anschlußbolzen sind markiert, Anschlußleitung '15' steht bei eingeschalteter Zündung unter Strom (Klemme 15 am Zündschloß). Die Leitung für Anschlußbolzen '1' führt zum Unterbrecher. Mit der Schlitzschraube (E) kann der Unterbrecher des Signalhorns bei Bedarf nachgestellt werden. Nur je eine Viertelumdrehung probeweise nach links und rechts verstellen, bis das Signal wieder die richtige Lautstärke hat.

Bild 97

Um das Suchen nach den Klemmbezeichnungen bei eingebautem Zündschloß zu erleichtern, bitte nach nebenstehender Draufsicht orientieren. Die Klemme 57 ist weggefallen, Leitung 57 (Standlicht) liegt mit auf 58. Das Standlicht brennt deshalb bei Fern- und Abblendlicht mit.
Schaltplan beachten!

Bild 98



5.5. Batterie

nächster Punkt ; Inhaltsverzeichnis

In die /1-Typen wird die 6-V-12-Ah-Blei-Flachbatterie serienmäßig eingebaut. Ein neuer Sammler ist mit Akkumulatorenschwefelsäure (Dichte 1,24, in den Tropen 1,22) bis zur Markierung zu füllen. Nach etwa 3 Stunden - nachdem sich die Platten vollgesogen haben - wird mit 0,6 A geladen. Die Batterie ist geladen, wenn alle Zellen gleichmäßig gasen, die Ladespannung 7,5...7,8 V erreicht hat, während der nächsten drei aufeinanderfolgenden Stunden bleibt und die Säuredichte 1,28 beträgt. Nach vier Wochen ist der Sammler voll speicherfähig, es wird mit 1,2 A geladen. Säurespiegel innerhalb der Markierung halten, destilliertes Wasser nachfüllen, Säuredichte mit Säureheber überprüfen. Batteriegehäuse vor Kraftstoff, Schlag und starkem Druck schützen. Das Batteriespannband darf den mittleren Einfüllstopfen nicht verschließen, sonst kocht die Zelle über. Batteriekabel untersuchen, festsitzende Anschlußschrauben durch Anwärmen lösen. Polanschlüsse und -schrauben säubern, mit Pol-(Kontakt-)Fett schützen.

Bild 99



5.6. Regler

nächster Punkt ; Inhaltsverzeichnis

Anschlußklemmen am kombinierten Regler-Rückstrom-Schalter.

Eingerissene Kabelschuhe unbedingt erneuern. Bricht z. B. der Kabelschuh D+, so brennt der Regelwiderstand der Lichtmaschine durch.

Bei verbogenem Klemmbügel darauf achten, daß das Ende des Bügels (Pfeil) nicht die isolierte Nietstelle auf der Unterseite berührt.

Das Klemmbrett (im gestrichelten Feld) neigt wegen hohen Stromdurchganges zu starkem Oxidansatz. Dadurch Spannungsabfall bis zu 50 %.

Plus- und Minusklemme und Schrauben gründlich säubern. Ebenfalls die Haltefeder mit Sicherung. Auch die Kabelenden - die besonders hier verlötet sein müssen - werden blank gemacht.

Alle Metallteile mit Kontakt-(Pol-)Fett schützen!

Bild 100

Bild 101



Dieses Einstellschema zur mechanischen Einstellung mit Fühllehre ist nur für Notreparaturen vorgesehen, z. B. wenn ein Kontakt festgeschmort ist. Für die endgültige (elektrische) Einstellung ist nur der Elektrodienst (mit Prüfstand) zuständig. Auch bei älteren Fahrzeugen mit Nickel-Kadmium-Batterie nicht höher als 7,5...7,8 V einstellen - sonst vorzeitiger Ausfall der Glühlampen.

 


5.7. Scheinwerfer

nächster Punkt ; Inhaltsverzeichnis

Bei ungenügender Fahrbahnausleuchtung die Kontaktzungen (1) sowie Kontakte der Biluxlampe blank machen. Anschluß der Minusleitung (2) überprüfen. Bei der Kurzschlußsuche im Hauptlichtbereich auch die Biluxlampe beachten; denn auch im Lampensockel kann ein Kurzschluß liegen. Die Biluxlampe nur mit einem sauberen Lappen anfassen. Auch saubere Finger hinterlassen Fettspuren, diese verdampfen und trüben Reflektor und Streuscheibe. (3) Federnde Aufhängung des Blinkgebers, Ausführung 1962/1963.

Bild 102

Reicht der Verstellbereich der Reflektorverstellung (1) nicht aus, das Abblendlicht auf die gesetzlich vorgeschriebene 25-m-Fahrbahnausleuchtung einzustellen, dann den Steg (Pfeil) des federnd geklemmten Reflektors etwas nachbiegen. Genügt diese Korrektur noch nicht, so muß das komplette Scheinwerfergehäuse - nach dem Lockern der Halteschrauben - nach vorn gekippt werden. Geprüft wird mit Soziusbelastung, die Federbeine sind auf 'Hart' zu stellen.

Bild 103

Liegen grobe Seitenabweichungen vor, z. B. nach einem Unfall, so müssen die Scheinwerferhalter gerichtet werden. Beide Halteschrauben (Pfeil) eine Vierteldrehung lockern und mit einem Richteisen so biegen, daß der Übergang vom Scheinwerfergehäuse zum Kraftstoffbehälter noch vom Gummiköder verdeckt wird.

Bild 104



5.8. Schlußleuchte mit Bremslicht

nächster Punkt ; Inhaltsverzeichnis

  1. Anschluß für Bremslicht, Klemme 54
  2. Minusleitung zum Bremslichtschalter am hinteren Bremsdeckel
  3. Anschluß für Kennzeichenleuchte, Klemme 58
  4. Anschluß für Minusleitung (führt zum Klemmbrett auf Klemme 31)

Die Parabolspiegel nur trocken abwischen!

Bild 105



5.9. Bremslichtkontakt

nächster Punkt ; Inhaltsverzeichnis

Zum Nachstellen des Bremslichtschalters (hier bekommt das Bremslicht Masse!) Gummikappe mit Stecker abziehen und Mutter (SW 9) eine Vierteldrehung lockern. Ein Helfer drückt den Fußbremshebel nieder, bis beim Durchdrehen des Hinterrades die Bremsbacken schleifen. In dieser Stellung den Bremshebel festhalten und die Schlitzschraube verdrehen, bis bei eingeschalteter Zündung das Bremslicht aufleuchtet. Die Mutter gefühlvoll anziehen - die Isolierbuchse ist aus Plaste! Reicht der Verstellbereich nicht aus, so kann die Kontaktfeder am Bremsschlüssel nachgerichtet werden.

Bild 106



5.10. Blinkgeber

nächster Punkt ; Inhaltsverzeichnis

Der Blinkgeber ist empfindlich gegen Schlag und Stoß, deshalb die federnde Aufhängung nicht verändern. Bei Arbeiten am Blinkgeber immer den Zündschlüssel abziehen - ein Kurzschluß verursacht Ausfall!

  1. Hell-Dunkel-Schaltung. Dieser Blinkgeber braucht eine separate Masseleitung. Leuchtet das Blinklicht nicht auf, so kann nach dem Entfernen des Gummistopfens (A) nachgestellt werden. Schlitzschraube etwa 1/8 Umdrehung nach rechts drehen, bis die Blinker aufleuchten. Zündung ausschalten oder einen schaftisolierten Schraubenzieher verwenden - sonst Kurzschluß!
  2. Dunkel-Hell-Schaltung - ohne Masseleitung!
  3. Dunkel-Hell-Schaltung - ohne Masseleitung! Der Blinkgeber liegt in Schaumgummi. Es ist gleich, ob die Zuleitung auf 49 oder 49a liegt.

Nur 18-W-Sofitten einsetzen, stärkere oder schwächere Verbraucher verändern die Blinkfrequenz 90 ± 30! Durch die 'Trägheit' der Nickel-Kadmium-Batterie ergeben sich dieselben Erscheinungen!

Bild 107

Für alle drei Blinkgeberausführungen ist zu empfehlen, in die Zuleitung eine Sicherungspatrone (B) mit einer 4-A-Sicherung einzubauen (im Rundfunkgeschäft erhältlich!). Besonders für Gespanne mit der störanfälligen Zuleitung zur Blinkleuchte auf dem SW-Kotflügel ist das wichtig!

Bild 108



5.11. Schaltplan

nächster Punkt ; Inhaltsverzeichnis

Bild 109. Schaltplan



6. Ansaugsystem

nächster Punkt ; Inhaltsverzeichnis

Der Vergaser arbeitet nicht unabhängig, sondern ist nur ein Teil eines aufeinander abgestimmten Systems. Dieses hat seinen Anfang am Luftfilter und endet am Schalldämpferendstück. Auch das Steuerdiagramm gehört dazu. Wenn nach längerer Betriebszeit eine Abmagerung oder Überfettung des Kraftstoff-Luft-Gemisches auftritt, braucht der Fehler nicht unbedingt im Vergaser zu liegen. Es müssen alle mit der Funktion des Vergasers im Zusammenhang stehenden Organe genauso überprüft werden, wie der Vergaser selbst.


Bild 110. Ansaugsystem



Überhitzungserscheinungen, Klemmneigung, Zündkerze hat Schmelzperlen

  1. Luftfilter beschädigt, hat ungehemmten Luftdurchgang.
  2. Filteraufnahme (Gummi) dichtet auf dem Ansauggeräuschdämpfer nicht ab.
  3. Gummidichtflansch am Ansaugrohr liegt nicht an oder Schlauch zur Lichtmaschinenbelüftung herausgezogen.
  4. Isolierflansch zwischen Ansaugstutzen und Zylinder ist undicht und porös.
  5. Trennfuge an Kurbelgehäuse oder Zylinderfuß undicht, Kurbelwellendichtringe schadhaft.

Diese 'Nebenluft' vor oder hinter dem Vergaser verringert den Sog an der Oberkante der Nadeldüse, demzufolge wird weniger Kraftstoff mitgerissen. Schweres Starten, schlechte Leistung, Zündkerze verölt

  1. Durchlaß im Sitzunterteil verdeckt.
  2. Luftfilter verschmutzt oder Putztuch vor das Filter gesaugt.
  3. Schalldämpfer mit Verbrennungsrückständen zugesetzt oder ein Dämpfungselement ist lose und hat sich vor die Durchgangsbohrungen gesetzt.

Der stark gedrosselte Durchgang an Filter und Sitzwanne (l und 2) erhöht den Sog an der Nadeldüse es wird mehr Kraftstoff mitgerissen. Trotz richtiger Vergasereinstellung überfettetes Kraftstoff-Luft-Gemisch! Bei 3. geht es um zu starken Rückstau im Auslaßsystem. Die Verbrennungsgase können durch die verengten Querschnitte nicht schnell ausgestoßen werden. Es verbleiben größere Restgasmengen im Zylinder. Da durch schlechter Füllungsgrad und schlechte Leistung. Der anormale Rückstau wirkt bis in den Vergaseransaugstutzen und den Vergaser selbst - dieser 'sprüht' stark zurück! Der Ansaugstutzen (1) wird erst nach dem Einbau des Motors angeschraubt, um zu verhüten, daß der Motor am Stutzen angehoben oder transportiert wird. Der Preßstoff-Isolierflansch (2) kann durch starke Belastung einreißen oder undicht werden. Dadurch entsteht Nebenluft im Ansaugsystem. Bei der Montage ist darauf zu achten, daß zwischen Einlaßfenster des Zylinders, Isolierflansch und Ansaugstutzen ein glatter Übergang vorhanden ist. Für den Bastler ist hier ein dankbares Betätigungsfeld. Durch Beseitigen der Gußunebenheiten im Ansaugstutzen und Glätten der fertigungsbedingten Übergangskanten (zum Kurbelgehäuse hin) kann eine fühlbare Leistungssteigerung erzielt werden!


Bild 111. Ansaugstutzen



6.1. Vergaser

nächster Punkt ; Inhaltsverzeichnis

Von der richtigen Einregulierung und Funktion des Vergasers hängen nicht nur die gute Motorleistung, ein annehmbarer Kraftstoffverbrauch und die Startwilligkeit ab, es geht auch um die Zuverlässigkeit und um geringstmöglichen Verschleiß. Da wir immer wieder feststellen müssen, daß durch Nichterkennen von Funktionsstörungen vermeidbare Motorschäden entstehen, halten wir eine ausführliche Schilderung der Zusammenhänge für erforderlich. Die Bezeichnungen 'Vergaser' oder 'Gas geben' sind zwar international gebräuchlich, aber irreführend. Es wird nichts 'vergast' - dazu wäre Wärme nötig, gerade die muß man aber vom Vergaser fernhalten (Isolierflansch!). Erwärmte Luft hat mehr Volumen, damit wird der Füllungsgrad des Motors schlechter. (Deshalb ist bei hochsommerlicher Hitze der Motor 'müde', während am kühlen Morgen die volle Leistung da ist). Zur motorischen Verbrennung von 1 l Benzin gehören 9300 l Luft. Diese enorme Luftmenge (mit nur etwa 20 % Sauerstoff) muß im Vergaser mit dem Kraftstoff so intensiv vermischt werden, daß daraus ein 'Kraftstoffnebel' entsteht. Von der richtigen 'Dichte' hängt es nun ab, ob der Motor die zugesicherte Leistung bringt oder nicht. In diesem Zusammenhang sind die Bezeichnungen 'Einstellung zu mager', 'Einstellung zu fett', gebräuchlich. Wie macht sich das bemerkbar? Welche Auswirkungen? (Daß die Vergasereinstellung serienmäßig und der Vergaser sauber ist, wird als selbstverständlich angenommen!) Für das Mischungsverhältnis von Luft und Kraftstoff wird die Meßeinheit λ (Lambda) angewendet. Als Mittelwert gilt λ = 1 (= 13,8 Masseteile Luft und 1 Masseteil Kraftstoff). Werte über 1 haben Luftüberschuß, unter 1 Luftmangel. (1 m3 Luft 'wiegt' bei 10 °C und 1 at 1,2 kg.) Die Vergasereinstellung muß bei Außentemperaturen von plus und minus 20 °C gleichermaßen stimmen, deshalb ist serienmäßig eine etwas fettere Einstellung gebräuchlich. Dieser leichte Luftmangel von etwa 7 % sichert:

  1. gute Vollastleistung (Vollgasfahrt erfordert leichte Überfettung, weil durch den vollkommen freigegebenen Vergaserdurchlaß der Sog an der Nadeldüse geringfügig nachläßt).
  2. guten Kaltstart und einwandfreien Übergang (die leichte Überfettung ist der Ausgleich für im kalten Ansaugstutzen und Kurbelgehäuse kondensierende Kraftstofftröpfchen).

Als anwendbarer Regelbereich des Vergasers (Teillastnadel) ist λ = 0,9...1,1 zulässig. Da weder der Werkstatt noch dem Bastler ein Motorenprüfstand mit den dazugehörenden Meßeinrichtungen zur Verfügung steht, verbleibt zur Einstellung des Vergasers nur eine Probefahrt über mindestens 10 km Strecke. Der Motor muß seine Betriebstemperatur haben, sonst ergeben sich Fehleinschätzungen!
Überfettung unter λ 0,9
Durch Überfettung herrscht örtlicher Sauerstoffmangel, demzufolge 'verzögerter Brennablauf' = schlechte Leistung! Durch die unvollständige Verbrennung entsteht außer dem ungefährlichen Kohlendioxid (CO2) das farblose, aber giftige (!) Kohlenmonoxid (CO). Dieses ist noch brennbar - es wird also Kraftstoffenergie verschenkt! Besonders bei Kurzstreckenbetrieb verbleiben Kohlenwasserstoffteile im Motor, diese lösen Korrosion an Pleuellager, Zylinderlaufbahn und Kolben aus. Das ist die Ursache für vorzeitigen Verschleiß! Eine bei der Demontage im Kurbelgehäuse vorgefundene Ölpfütze ist kein Gegenargument, sondern die Bestätigung für zu fette Einstellung. Diese 'Emulsion' ist mit Wasserstoff 'verseiftes' Motorenöl und hat keinerlei Schmierfähigkeit.
Merkmale: Motor springt in kaltem Zustand auch mit offenem Lufthebel an. Motorleistung bei kaltem Motor genügend, wird aber bei zunehmender Erwärmung schlechter. Neigung zum 'Viertakten'. Qualmende Abgasfahne, hoher Verbrauch, Zündkerze mit richtigem Wärmewert ist verölt.
Ursachen: Luftfilter verschmutzt, Schwimmergehäuse steht zu hoch, Schwimmernadelsitz eingeschlagen, Dichtung unter Vergasereinsatzstück defekt, Nadeldüse locker oder ausgeschlagen. Hauptdüse zu groß.
Abmagerung über λ 1,1
Es liegt Luftüberschuß vor, demzufolge rasanter Brennablauf, ohne Abgasfahne, wenig giftige Abgase und ohne verschleißfördernde Rükstände.
Merkmale: Motor springt bei korrekter Leerlauflufteinstellung gut an, es muß aber längere Zeit mit mehr oder weniger geschlossenem Lufthebel gefahren werden. Motorleistung bis etwa zwei Drittel Gasschieberöffnung gut, darüber Leistungsabfall. Wird im Bereich von zwei Drittel bis Vollgas gefahren, steigt die Betriebstemperatur übernormal an. Der Motor 'patscht' durch den Vergaser, dabei wird unter Umständen das Naßluftfilter aus der Halterung gedrückt. Kraftstoffklingeln und Neigung zum Festgehen. Zündkerze hat durch Überhitzung blaugrauen Kerzenstein und Schmelzperlen.
Ursachen: Nebenluft im Ansaugsystem oder am Motor selbst. Schwimmergehäuse steht zu tief. Schalldämpfereinsätze entfernt, deshalb Staudruck zu niedrig.
Am Vergaser selbst beginnt die Fehler- und Verschleißsuche am Schwimmernadelsitz (1). Nach etwa 15000...20000 Fahrkilometern sind der Schwimmernadelkonus und der Nadelsitz im Schwimmergehäusedeckel so eingeschlagen (schon durch Sichtkontrolle festzustellen), daß das Kraftstoffniveau infolge Undichtigkeit des Nadelventils höher als zulässig ansteigt, der Vergaser zum Überlaufen neigt und damit das Kraftstoff-Luftgemisch stark überfettet. Zur Generalüberholung des Motors gehört deshalb auch immer der Vergaser. Kraftstoffstand von Oberkante Schwimmergehäuse: 28 +l mm (bei eingesetztem Schwimmer). Das entspricht 2,5...3,5 mm unter Oberkante Nadeldüse. (Genau läßt sich das überprüfen, indem an Stelle der Verschlußschraube unterhalb der Hauptdüse ein Standglas mit einer lichten Weite von mindestens 8 mm Durchmesser angeschraubt wird. Die Kraftstoffhöhe im Schwimmergehäuse kann man dann mit einer Schieblehre messen. Das 'Niveaustand-Prüfgerät' siehe 'Selbstbauskizzen'.)
Das Fahrzeug muß dabei waagerecht stehen, evtl. zur Kontrolle auf das Schwimmergehäuse ein Lineal auflegen, damit auch der Vergaser gerade steht. Zu niedriger Kraftstoffstand ergibt Abmagerung des Kraftstoff-Luftgemisches (Luftüberschuß) mit den erwähnten Überhitzungserscheinungen). Die Vibration der Gassäule (Gaswechselvorgang) wirkt auch auf die Teillast- (Düsen-) Nadel ein. Um das vorzeitige Ausschlagen der Nadeldüse (2) zu verhindern, führt der Mehrlochzerstäuber (3) die Teillastnadel. Aus der Signierung '77' der Nadeldüse ist ersichtlich, daß der kalibrierte Teil einen Durchmesser von 2,77 mm hat. Schon aus der Hundertstel-Bemaßung geht hervor, wie genau es auf den Durchgang am Ringspalt zwischen. Nadelkonus und Nadeldüsenbohrung ankommt. Zwei Hundertstel mm Verschleiß lassen aus der 77er eine 79er Nadeldüse werden - das bedeutet starke Überfettung! Tieferhängen der Teillastnadel hilft vorübergehend. Verschleißgrenze: etwa 30000km.

    Auszuwechseln sind Teillastnadel mit Haltefeder sowie Nadeldüse mit Mehrlochzerstäuber.

Ein weiteres Verschleißteil ist der Gasschieber. Die Verschleißgrenze liegt bei 20000 Fahrkilometern. Bedingt durch Zusammentreffen von Toleranzgrenzen (Plusgrenze am Gehäuse, Minusgrenze am Schieber) kann aber auch schon nach geringeren Laufzeiten ein klappernder Gasschieber eine Geräuschursache sein. Es wird irrtümlich als 'Kolbenkippen' oder 'zu viel Höhenspiel der Kolbenringe' deklariert und löst zwecklose Reparaturen aus. Nach Zurückschieben des Ansaugrohres wird bei laufendem Motor mit einem Bleistift durch die Ansaugöffnung auf den Gasschieber gedrückt. Kurzes Gasgeben läßt erkennen, ob das 'tickende' Geräusch vom Gasschieber kommt oder nicht. Für abnormal hohen Verbrauch bei mechanisch einwandfreiem Zustand von Vergaser und Motor kann die Dichtung (4) zwischen Vergasergehäuse und Einsatzstück die Ursache sein. Ist diese defekt, bekommt dort der Motor außerhalb des Düsensystems zusätzlich Kraftstoff. Nach Herausschrauben der Nadeldüse kann das Einsatzstück nach oben durchgeschoben werden. Beim Einbau darauf achten, daß die Nase der Dichtung in die Aussparung im Einsatzstück kommt. Wenn nicht, ist der Durchgang zur 'Übergangs'-Bohrung (5) verdeckt - schlechter Übergang beim Beschleunigen ist die Folge. Wird beim Anziehen der Nadeldüse das Einsatzstück nicht fest, muß eine zweite Dichtung eingelegt werden, sonst tritt nach kurzer Zeit derselbe Fehler auf. Das Unterlegen von mehr als zwei Dichtungen ist nicht zu empfehlen, da hierdurch das Einsatzstück in der Saugbohrung eine Kante bildet, wodurch Luftwirbel entstehen. Außerdem wird der Abstand zwischen der Oberkante der Nadeldüse und des Zerstäubers zu groß. Beides beeinflußt die Gemischaufbereitung und den Übergang negativ. An der Leerlaufeinrichtung, mit der Leerlauf-Kraftstoffdüse (7) und der Leerlauf-Luftschraube (8) kann kaum Verschleiß auftreten. Abweichungen entstehen nur durch zu kräftiges Hineindrehen der Leerlauf-Luftschraube. Am Ringspalt des Mischraumes (9) (die Luftschraube ist zur besseren Übersicht herausgedreht) wird dabei Grat angedrückt und damit der Querschnitt verengt. Das bedeutet, daß die Leerlauf-Luftschraube statt 2 1/2 etwa 4 Umdrehungen herausgeschraubt werden muß, um einwandfreien Rundlauf im Leerlaufbereich zu bekommen. Bei der Reinigung und Montage der Vergaserteile ist peinlichste Sauberkeit Voraussetzung. Die Übergangsbohrung (5) und Leerlaufbohrung (6) sowie die Leerlauf-Kraftstoffdüse (7) nicht mit einem Draht durchstoßen, sondern mit Preßluft durchblasen (der Bastler nimmt die Luftpumpe und einen Gummi- oder Isolierschlauch). Im Schwimmergehäuse vorgefundene gallertartige Masse (farblos) ist Bleioxid und wird bei überaltertem Kraftstoff aus dem beigemischten Bleitetraäthyl (Antiklopfmittel, giftig!) ausgeschieden.
Für Fahrzeuge mit Sitzbank - besonders bei der ES 300 - nur Luftfiltereinsätze mit 10 Lagen verwenden. Die am Bund eingeprägte Signierung '10 Lagen' beachten!
Der Vergaser hat vier Arbeitsbereiche:

  1. Leerlauf-Regelbereich von 0 bis 1/8 Gasschieberweg (beeinflußt aber, nach der Vollgasstellung zu abnehmend, den ganzen Bereich).
  2. Regelbereich des Gasschieberausschnittes bis 1/4 Schieberweg.
  3. Teillastnadel-Regelbereich von 1/4 bis 3/4 Gasschieberweg.
  4. Regelbereich der Hauptdüse von 3/4 bis Vollgas (beeinflußt aber den ganzen Bereich bis herunter zur Leerlaufeinstellung).


Einstellwerte:
  ES 175/1 ES 250/1 ES 300
Vergasertyp BVF 25,5 KN 1-2 (Zweihebel-Rundschieber, mit Nadelführung) BVF 28,5 KN 1-1 (Zweihebel-Rundschieber, mit Nadelführung) BVF 30 KN 1-1 (Zweihebel-Rundschieber, mit Nadelführung)
Durchlaß in mm 25,5 28,5 30
Hauptdüse 100 120 120
Nadeldüse 70 77 77
Teillastnadel Nr. 3 mit 7 Kerben 11 mit 7 Kerben 11 mit 7 Kerben
Nadelstellung von oben 5. Kerbe 5. Kerbe (4. nach der Einfahrzeit) 6. Kerbe (5. nach der Einfahrzeit)
Leerlaufdüse 45 45 45
Schieberausschnitt 4,0 mm 4,0 mm 4,0 mm
Leerlauf-Luftschraube etwa 2,5 Umdr. offen etwa 2,5 Umdr. offen etwa 2,5 Umdr. offen
Kraftstoffniveau 28 +1 mm 28 +1 mm 28 +1 mm


Bild 112. Vergaserschnitt (hier vergrößerte Darstellung)



Davon kommen jedoch nur zwei Bereiche (l und 3) für die Einstellung in Frage, weil Schieberausschnitt und Hauptdüse als unveränderliche Werte anzusehen sind. Es sei denn, der Motor wurde frisiert und bringt höhere Leistung als serienmäßig. Dann muß eine größere Hauptdüse eingesetzt werden, denn 1 kg Benzin enhält 10500...11000 Wärmeeinheiten (kcal/kg). Um 1 PS (75 kpm/s) zu erzeugen, ist - abhängig vom Wirkungsgrad - eine gewisse Menge Wärmeeinheiten erforderlich (vgl. Bild 5 'spezifischer Verbrauch'). Hat nun der Motor ES 250/1 statt der serienmäßigen ll,8 kW ( = 16 PS) jetzt 13,6 kW ( = 18 PS), so muß er jetzt mehr Wärmeeinheiten - also mehr Kraftstoff - bekommen.
Beim Leerlaufeinstellen geht es um zwei Begriffe: um das richtige Mischungsverhältnis von Kraftstoff und Luft (die Stellung der Leerlauf-Luftschraube) sowie um das 'Standgas' - also die Leerlaufdrehzahl.

    Bei betriebswarmem und laufendem Motor - bei waagerecht stehendem Fahrzeug - die Leerlauf-Luftschraube bis zum eben fühlbaren (!) Aufsitzen hinein- und 2 1/2 Umdrehungen herausdrehen. Mit Schieberanschlagbolzen regulieren, bis der Motor bei geschlossenem Drehgriff eben noch weiterläuft. >Leerlauf-Luftschraube probeweise langsam hinein- und wieder herausdrehen, bis die höchste Drehzahl gefunden ist. Anschlagbolzen hineindrehen, bis die Leerlaufdrehzahl wieder normal ist. Wechselseitiges Nachregulieren so lange fortsetzen, bis sich beim Herausdrehen der Leerlauf-Luftschraube die Standgas-Drehzahl nicht mehr erhöht. Leerlauf-Luftschraube wieder 1/8 Umdrehung hineindrehen - das ist für guten 'Übergang' mit kaltem Motor! Anschlagbolzen hineindrehen, bis der Gasschieber den Vergaserdurchlaß vollkommen schließt und der Motor stehenbleibt. Leerlauf-Luftschraube und Bolzen festhalten und mit der Mutter kontern.

Standgas wird nun mit dem Drehgriff eingestellt, eine kleine Bremsschraube (Schlitzschraube) am Drehgriffbund verhindert den stelbsttätigen Rücklauf.
Durch diese Einstellung ergeben sich zwei Vorteile:
Bei Bergabfahrt werden die Übertragungsorgane nicht stoßweise durch einzelne Arbeitstakte belastet.
Kette, Zahnräder und Lager danken das durch längere Lebensdauer. Beim Abstellen des Motors schließt der Gasschieber den Vergaserdurchlaß ab. Der Motor bekommt kein zündfähiges Gemisch - Glühzündüngen können nicht auftreten!



6.2. Standgas-Anschlagfeder

nächster Punkt ; Inhaltsverzeichnis

Da sich nicht alle Fahrer an die fehlende Standgaseinstellung gewöhnen können oder wollen, entwickelte MZ einen Drehgriff, der beide Stellungen ermöglicht:
Eine kleine Druckfeder von 8 mm Länge zwischen Drehgriffschieber und Bowdenzuggegenhalter stellt im entspannten Zustand den Standgasanschlag dar. Wird der Drehgriff - gegen den Federdruck - noch weiter geschlossen, so schließt auch hier der Schieber den Vergaserdurchlaß ab. Ergebnis siehe oben! Standgas wird im letzteren Fall mit der Gasbowdenzug-Stellschraube eingestellt - nicht mit dem Schieberanschlagbolzen! Dieser dient nur noch als Verdrehsicherung für den Gasschieber und ist soweit hineinzuschrauben, bis der Schieber den Durchlaß vollkommen abschließt. Zum nachträglichen Einbau dieser Druckfeder mit der Ersatzteilnummer 13-829.17-0 sind nur einige kleine Veränderungen nötig, die ein Bastler ohne weiteres selbst durchführen kann. Damit die Sache auch einwandfrei funktioniert, beschreiben wir ausführlich, was und wie es gemacht wird:
Den Drehgriff demontieren und den Gasbowdenzug aushängen. Vom Bowdenzug die Abschlußtülle abziehen und die Spirale um 5 mm kürzen. Das muß mit Vorsicht geschehen, damit das Seil nicht beschädigt wird. Am sichersten ist es, die Spirale bis auf die erforderliche Länge abzuwickeln und dann abzuzwicken. Abschlußtülle aufstecken, den Bowdenzug gründlich durchölen und mit der Feder wieder einhängen. Am Drehgriff muß die Anschlagnase (1) entfernt werden (sofern Sie es nicht vorziehen, gleich einen Drehgriff ohne Anschlag zu kaufen). Dazu wird der Gummiüberzug zurückgerollt und, wie im Bild gezeigt, auf Mitte Anschlag angekörnert. Das Längenmaß dafür ist angegeben, für die Seitenrichtung wird durch das Rohr anvisiert. Zum Ankörnern sowie zum Bohren wird ein passendes Rundholz in das Griffrohr gesteckt (notfalls geht auch ein Besenstiel), damit die punktgeschweißte Spirale nicht abgedrückt wird. Deshalb auch den 4- oder 4,5 mm-Bohrer vorher schleifen.

Bild 113. Anschlagfeder



Anschließend wird - von der Bohrung ausgehend - die Anschlagnase so abgefeilt, daß an der Spirale nichts mehr vorsteht. Eventuell entstandener Grat ist zu entfernen. Wie bereits erwähnt, muß bei Drehgriffen mit Anschlagfeder das 'Standgas' mit der Gasbowdenzug-Stellschraube (2) einreguliert werden. Der Schieberanschlagbolzen (3) wird hineingedreht, bis der Gasschieber vollkommen schließt. Um geräuschlos und ohne Pause schalten zu können, muß die Leerlaufdrehzahl möglichst niedrig sein. Mit hoher Drehzahl werden fast immer Einstellungsfehler, Nebenluft und anderes verdeckt. Durch zu fette Leerlaufeinstellung neigt der Motor im unteren Drehzahlbereich zum 'Viertakten' - der Laie vermutet dann einen Schaden am Kolbenbolzen oder am Pleuellager. Zum Einstellen der Teillastnadel ist eine Probefahrt von mindestens 10 km erforderlich, damit am 'Kerzengesicht' die Betriebsverhältnisse der neuen Einstellung sichtbar werden. Von der Grundeinstellung ausgehend, kann bei Bedarf die Teillastnadel eine Raste höher oder tiefer gehängt werden. Reicht das nicht aus, so liegt einer der beschriebenen Fehler vor. Eventuell eine andere Hauptdüse gleicher Größe einsetzen, vielleicht entspricht die Düsenbohrung nicht mehr dem eingeschlagenen Durchlaufswert. Wird, z. B. im Ausland, nur mit hochoktanigen Kraftstoffen (OZ 85...100) gefahren, ist durch Tieferhängen der Teillastnadel bzw. kleinere Hauptdüse die damit verbundene leichte Überfettung auszugleichen. Die Vergasereinstellung ist in Ordnung, wenn nach der Probefahrt die vorgeschriebene Isolator-Zündkerze ein 'hell-rehbraunes' Kerzengesicht hat. Hell deshalb, weil die im legierten Zweitakt-Motorenöl enthaltenen Wirkstoffe (Additives) nicht nur im Motor, sondern auch im Innern der Zündkerze - am Kerzenstein - das Ansetzen von Verbrennungsrückständen verringern. Im Ausland ergibt sich mit legierten Spezial-Zweitakt-Ölen, wie Zwo-Ta-Mix, Shell X 100 o. ä., die gleiche Erscheinung.Probefahrten nicht mit fast leerem Kraftstoffbehälter durchführen!



7. Fahrgestell

7.1. Kraftstoffbehälter abnehmen

nächster Punkt ; Inhaltsverzeichnis

Sitzbank oder Fahrersattel abnehmen, Kraftstoffhahn lockern und eine Vierteldrehung nach links verdrehen. Verbindungsschlauch (1) auf einer Seite abziehen. Die beiden Halteschrauben (Pfeil) M 6x75 entfernen - die beiden Gummihülsen aus dem Rahmen herausdrücken, damit sie nicht verlorengehen.

Bild 114



7.2. Überprüfen und Nachstellen der Lenkungslager

nächster Punkt ; Inhaltsverzeichnis

Lenkungslager auf Spiel überprüfen.

Mit einer Hand am Kotflügel wackeln, mit der anderen Hand am unteren oder oberen Lenkungslager fühlen; die Lager müssen spielfrei sein!

Bild 115

Nachstellen der Lenkungslager.

Klemmkopf lockern: Sicherungsblech aufbiegen, Mutter (SW 17) eine Vierteldrehung lösen und mit dem Spezialsteckschlüssel 02-MW 18-4 nachstellen.

Wenn richtig eingestellt ist, pendelt der Lenkerselbsttätig auf die Mittellage ein.

'Punktierte' Rahmen- oder Gabellaufringe nicht nachpolieren, sondern zusammen mit dem Kugelsatz auswechseln. (Je Lagerschale 22 Kugeln, 6,35 mm Durchmesser.) Die Klemmschraube ist mit etwa 5 kpm anzuziehen.

Bild 116

Lenker abnehmen. (1) Reibscheibe, (2) Lenkeranschlag. Am Vorderrad unterbauen, damit der Vorderbau nicht durchrutscht. Oberen Gabellaufring abziehen und auf Verschleiß überprüfen. Ist hier Abnutzung (eingelaufen oder punktiert) festzustellen, dann wird zwangsläufig am unteren Rahmen- und Gabellaufring der Verschleiß größer sein. Ein neuer unterer Gabellaufring ist nur warm aufzuziehen. Auf etwa 80 °C erwärmen und mit einem passenden Rohrstück bis zum einwandfreien Aufliegen am Schaftrohr niederdrücken. Ein lockerer Gabellaufring ist die Hauptursache für das 'Flattern' eines Fahrzeugs.

Bild 117

Ab Fahrgestell Nr.:
3056738 bei ES 175/1
1190420 bei ES 250/1
1503835 bei ES 300
ist statt des zylindrischen Schaftrohres ein konisches im Vorderträger. Beim Einbau dieses Vorderträgers in ältere Rahmen sind der untere Rahmen- und Gabellaufring (A) mit 36 mm Innendurchmesser, durch Teile mit 38,5 mm Innendurchmesser (B) zu ersetzen. Das obere Lenkungslager bleibt unverändert. Für beide Lager je 22 Kugeln mit 6,35 mm Durchmesser verwenden.

Bild 118

Im Schaftrohr, gleich ob zylindrisch oder konisch, muß eine Sicherungshülse vorhanden sein.

Bild 119



7.3. Schwingenlagerbolzen auswechseln

nächster Punkt ; Inhaltsverzeichnis

Mit Zentrierbolzen 05-MW 26-4 die Schwinge fixieren und von rechts den neuen Bolzen einführen. Richtige Reihenfolge beachten:
Die Gummidichtringe müssen beiderseitig an den Lagerbuchsen anliegen, damit Ölaustritt vermieden wird. Die Schwinge muß durch ihr eigenes Gewicht niedergehen - ohne Axialluft! Mit Hilfe der Kontermuttern wird ausgeglichen. Die Arretierschrauben M6x20 (Kontermuttern) sichern den Bolzen gegen Verdrehen und dürfen nur auf den vorgesehenen Flächen aufsitzen. Andernfalls wird durch die Druckstellen die nächste Demontage erschwert. Nur mit Motorenöl abschmieren!

Bild 120



7.4. Bremsen instandsetzen

nächster Punkt ; Inhaltsverzeichnis

Vorderer Bremsdeckel, ein Bremsbacken abgenommen. Beide Lagerbolzen (1) müssen festsitzen, sonst neigt die Bremse zum Blockieren. Lagerbolzen und Bremsschlüssel mit zähflüssigem (Heißlager-) Fett schmieren. Beim Ausbau der Bremsbacken diese markieren, damit sie wieder an die alte Stelle kommen, wo sie sich eingelaufen haben. Abrieb entfernen, anlaufende Seite der Bremsbacken anschrägen.

Bild 121

Original-Bremsbacken sind überschliffen, demzufolge tragen sie einwandfrei. Regenerierte Bremsbacken oder mit aufgenietetem Belag, müssen tuschiert werden. Bremse einbauen und mehrmals betätigen. An den Kreidestrichen ist ersichtlich, wo die Bremsbacken anliegen und wo nicht. Mit grober Feile nacharbeiten, bis - von der Mitte ausgehend - mindestens drei Viertel der Fläche tragen. Anlaufende Seiten anschrägen.

Bild 122



7.5. Fußrastenrohr auswechseln

nächster Punkt ; Inhaltsverzeichnis

5-mm-Zylinderkerbstifte halb durchschlagen und das vorstehende Ende dann absägen. Nun kann der Rest durchgeschlagen werden.

Die neuen Fußrastenrohre sind ohne Bohrungen. Mit Handbohrmaschine und 4,9-mm-Bohrer wird aufgebohrt und die neuen Zylinderkerbstifte eingeschlagen.

Bild 123



7.6. Hinterradantrieb zerlegen

nächster Punkt ; Inhaltsverzeichnis

Mutter am Flanschbolzen lösen und kompletten Antrieb herausnehmen.

Mit der Spitzzange den Sprengring 47x1,75 entfernen.

Bild 124

Flanschbolzen zusammen mit Lager 6264 durchschlagen. Die Flanschbolzenmutter wird dazu bündig aufgeschraubt, damit der erste Gewindegang nicht beschädigt wird.

Bild 125

Dämpfungsgummi auswechseln. Die Sicherungsbleche der vier Schrauben M10x25 aufbiegen und letztere herausdrehen. Der Dämpfungsgummi kann jetzt herausgenommen werden.

Bild 126

Beim Zusammenbau darauf achten, daß das Kettenrad nicht falsch verschraubt wird: Die Langlöcher des Kettenrades müssen mit den Bohrungen im Dämpfungskörper und -gummi übereinstimmen. Die glatte Seite des Kettenrades liegt am Gummi an.

Bild 127

Die beiden Dichtgummis - links und rechts (Spiegelbild) an den Radlagern - nicht vergessen, damit die Bremse nicht durch abgeschleudertes Fett verschmiert wird. Bei der neuesten Ausführung ist der Dichtgummi auf der Mitnehmerseite überflüssig.

Bild 128



7.7. Radlager ausbauen

nächster Punkt ; Inhaltsverzeichnis

Ausbau der Radlager 6302 mit Hilfe des Spreizdornes H 8-820-3.
Die Schraube in der Spreizhülse zurückdrehen und, nachdem das Lager herausgeschlagen wurde, wieder hineindrehen. Dadurch lösen sich Hülse und Dorn - das Lager kann abgezogen werden.

Bild 129



7.8. Sekundärkette ausbauen, bzw. auswechseln

nächster Punkt ; Inhaltsverzeichnis

Die Kette wird mit Hilfe eines Drahthakens durch die Kettenschutzschläuche gezogen.

Bild 130

Zum Überprüfen der Kette an diese eine alte, aber saubere Kette anhängen (auch Verschlußfeder darauf) und erstere herausziehen.

Bild 131

Hat die Kette in den Rollen und Bolzen zuviel Spiel, so muß unbedingt eine neue aufgelegt werden. Hat das Getriebekettenrad schon 'Haifischzähne', muß auch dieses erneuert werden.

Bild 132

Zum Einschieben des Kettenverschlusses die Kettenenden mit einer Spitzzange zusammendrücken und von hinten den Verschluß einfädeln. Nur Original-Kettenschlösser verwenden - der Bolzendurchmesser ist bei den einzelnen Kettenfabrikaten verschieden. Durch ein nichtpassendes Kettenschloß kann die neue Kette reißen!

Bild 133

Feder am Kettenschloß richtig einsetzen!

Bild 134

Querschnitt des Kettenschlauches. Die Profilierung führt die Kette, deshalb regelmäßig für Schmierung sorgen.

Bild 135



7.9. Tachoantrieb

nächster Punkt ; Inhaltsverzeichnis

Tachoantrieb zerlegt. Entsprechend einer evtl. geänderten Sekundärübersetzung (SW-Betrieb, Austauschmotor) muß auch der Tachoantrieb abgestimmt werden. Durch Herausziehen des Steck-Schmiernippels (1) wird die Lagerbüchse (2) frei und kann zusammen mit dem Ritzel abgezogen werden. Schraubenrad (3) und Ritzel (4) sind signiert:

ES 175/1 175 / 18
ES 250/1 ohne Signierung
ES 300 300 / 21
ES 300 SW 300 / 18

Bild 136

Tachoantrieb montiert.

Abgeschmiert wird dieser mit 'F-8-Getriebefett', im Ausland mit 'Shell-Ambroleum'.

Die Bohrung in der Tachospirale nicht verschließen, sonst wird überschüssiges Fett, bedingt durch den Drall der Tachowelle, in den Tacho befördert und macht diesen unbrauchbar. Die Rändelmutter der Spirale am Tacho gefühlvoll anziehen, damit die Lagerung der Antriebswelle des Tachos nicht geklemmt wird.

Bild 137



7.10. Schalldämpfer reinigen

nächster Punkt ; Inhaltsverzeichnis

Schalldämpfer zerlegt. Die markierten Stellen von Verbrennungsrückständen säubern. Ist der ganze Schalldämpfer stark verschmutzt, so muß die Vergasereinstellung (Verschleiß?) überprüft werden, oder es wird nicht mit dem vorgeschriebenen Mischungsverhältnis gefahren. Das Auspuffrohr wird nicht gereinigt - die Ölkohleschicht schützt das Rohr vor unerwünschter Wärmeaufnahme.

Bild 138



7.11. Kettendurchhang überprüfen

nächster Punkt ; Inhaltsverzeichnis

Geprüft wird bei belastetem Fahrzeug und vollständigem Kettenumlauf. Nicht nur den Schutzschlauch, sondern auch wirklich die Kette überprüfen!

Bild 139



7.12. Hinterrad spuren

nächster Punkt ; Inhaltsverzeichnis

So werden die Räder gespurt! Die einwandfrei gerade Spurplatte muß an vier Punkten der Reifen anliegen. Nicht fluchtende Räder bringen das Fahrzeug zum 'Schwimmen', außerdem in Kurven erhöhte Neigung zum seitlichen Wegrutschen! Deshalb nach jedem Hinterradausbau die Räder fluchten!

Bild 140



7.13. Federbeine instandsetzen

nächster Punkt ; Inhaltsverzeichnis

Federbein zerlegen. Obere Schutzhülse niederdrücken, dadurch werden beide Stützringhälften frei und können herausgenommen werden. Schutzhülsen und Druckfeder abziehen. Mit dem Spezialschlüssel 05-MW 82-4 die Verschlußmutter lösen und den kompletten Dämpfungseinsatz herausziehen.

Alle Teile gründlich in Waschbenzin säubern, auch das Mantelrohr ausspülen.

Bild 141

Dämpfungseinsatz - Kolbenrohr (1) und Bodenstück (2) abgezogen. Am Kolben (3) sitzt oben das konstante Rückschlag-(Platten-) Ventil, unten das einstellbare Dämpfungsventil. Damit wird der Dämpfungsdruck einreguliert. Das Ventil am Bodenstück wirkt als Sicherheitsventil, wenn durch Überlastung oder niedrige Außentemperaturen die Dämpfungsflüssigkeit nicht schnell genug durch die Kolbenbohrungen strömen kann. Der Vorratsraum zwischen Mantel- und Kolbenrohr nimmt die verdrängte Dämpfungsflüssigkeit auf - beim Ausfedern wird sie wieder in das Kolbenrohr gesaugt. Der Vorratsbehälter ist nahezu drucklos, die eigentliche Dämpfungsarbeit wird im Kolbenrohr geleistet.

Bild 142

Defektursachen:

  1. Die Stoßdämpfer sind wirkungslos, ohne sichtbaren Ölverlust. Fremdkörper zwischen den Membranen des Kolbenventils.
  2. Dämpfung setzt nicht ein. Die Federbeine 'stempeln'. Zu wenig Dämpfungsflüssigkeit oder Bodenventil undicht.
  3. Dämpfungsflüssigkeit läuft aus. MM-Manschette (A) undicht.

Bild 143

Zum Auswechseln der MM-Manschette 10x19x7 eg die obere Federbeinaufnahme (1) entfernen: Zylinderkerbstift 4x20 (2) von der schwachen Seite herausschlagen (an den Eindrückspuren ersichtlich). Obere Federbeinaufnahme und Kolbenstange für die Wiedermontage markieren, beide Teile müssen wieder in die ursprüngliche (seitengleiche) Stellung kommen. Nachdem die Federbeinaufnahme abgezogen ist, die Stiftbohrung der hartverchromten Kolbenstange beiderseitig mit einem Ölstein entgraten. Den Hohlraum in der neuen MM-Manschette (3) mit einer Graphitpaste (Heißlagerfett Ceritol, Bosch o. ä. mit kolloidalem Graphit) füllen. Manschette mit der glatten Seite nach außen (im Federbein nach unten) eindrücken.

Bild 144

Nur mit der konischen Montagehülse 05-MV 93-4 (A) auf die Kolbenstange aufschieben, sonst werden die Dichtlippen der Manschette beschädigt. Vordere 3, hintere Federbeine 4 Puffergummis! Beim Aufsetzen der oberen Federbeinaufnahme auf die angebrachte Markierung achten. Nur neue Zylinderkerbstifte verwenden. Von der weiten Bohrungsseite her einschlagen. Weitere Einzelteile des Stoßdämpfers, besonders die Regelorgane, können nicht ausgewechselt werden, weil zum Einstellen eine verhältnismäßig aufwendige Hydraulikmaschine erforderlich ist. Es sind zwei komplette Dämpfungseinsätze zu verwenden. Nach längerer Betriebszeit - wenn der noch funktionstüchtige Einsatz bereits etwas weniger dämpft - beide Einsätze erneuern, um auf gleiche Dämpfungswerte zu kommen. Mit dem zylindrischen Oberteil des Spezialschlüssels 05-MW 82-4 Scheibe und Dichtgummi im Mantelrohr niederdrücken und das Gewindestück mit etwa 5 kpm festziehen - im Arbeitszylinder können Drücke bis zu 65 at auftreten!

Bild 145

Behelfsmäßiges Überprüfen des Dämpfungswertes: Beide Dämpfer etwa zehnmal durchpumpen und an einem Rohrstück (oder Besenstiel) aufhängen. Beide Gewichte gleichzeitig freigeben und beobachten - evtl. mit einem Helfer - ob beide Dämpfer gleichzeitig in der Endlage ankommen oder nicht. Gleicher Dämpfungswert der Federbeinpaare ist die Voraussetzung für gute Straßenlage. Als Prüfgewichte nicht mehr als 2 kg anhängen, damit die Stoßdämpfer so langsam niedergehen, daß evtl. Abweichungen ersichtlich werden. Prüfdruck (Durchflußdruck im Hydraulikgerät)

  vorn hinten
In Zugrichtung (Kolbenventil) 64 ± 8 kp 76 ± 8 kp
in Druckrichtung (Bodenventil) 8 ± 2 kp 8 ± 2 kp

Innerhalb des Toleranzbereiches von 8 kp sind die Dämpfungseinsätze ausgesucht und gepaart. Vordere und hintere Dämpfungseinsätze sind an der Anzahl der Pufferringe zu erkennen - vorn 3, hinten 4 Gummis! Auch die Federbein-Druckfedern sind geprüft und gepaart. Nicht ein einzelnes Federbein oder Druckfeder, sondern nur paarweise auswechseln. Zur Komplettierung der Federbeine sind die Druckfedern mit zähflüssigem Fett einzupinseln (sofern sie nicht schon werkseitig mit einem Schutzlack versehen wurden). Dieses soll außer als Rostschutz, noch geräuschmindernd wirken. Abschmierfett oder Öl ist ungeeignet - die Dämpfungselemente erwärmen sich bei starker Beanspruchung, das dadurch ablaufende Öl oder Fett erweckt den unberechtigten Verdacht, die Dämpfer seien undicht.

Bild 146



8. Flachsteckverbindungen der elektrischen Anlage

nächster Punkt ; Inhaltsverzeichnis

Ab Januar 1965 werden für die elektrische Anlage statt Schraub- nur noch Flachsteckanschlüsse verwendet.

Bild 147

Gleichzeitig erhielt das Klemmbrett (A) zwei 15-A-Sicherungen. Der Lade-Stromkreis ist durch die zweite Sicherung separat abgesichert. Bitte den Schaltplan (Bild 152) beachten!
Bei Reparaturen einzubauende Elektroteile werden nur noch mit Flachsteckern geliefert. Diese werden an den Kabelenden nicht verlötet, sondern mit Hilfe einer Einrollzange nur geklemmt. Bezugsnachweis für diese Zange durch den MZ-Kundendienst!

Bild 148

Am Regler nicht routinemäßig die Kabelstecker aufschieben, sondern die Kennummern und -farben beachten: Bei der vorherigen Ausführung liegt D+ und 61 rechts auf einer Klemme - beim Regler mit Flachstecker jedoch in der Mitte auf einer Doppelklemme. Die Leitung 61 gibt bei eingeschalteter Zündung und stehendem Motor durch die Rückstromschalterzunge (Magnetwinkel) des Reglers der Ladekontrollampe Masse - die rote Ladekontrolle leuchtet auf! Wird der Motor angeworfen und läuft oberhalb der Einschaltdrehzahl (900...1110 U/min), dann liefert die Lichtmaschine Strom. Der Magnetwinkel wird angezogen - die Ladekontrolle muß verlöschen, weil sie keine Masse mehr hat. Von D+ her liegt 61 jetzt an Plus!

 

Bild 149



Draufsicht auf den Lampensockel:

31 Masse-Minus
56 a Fernlicht
56 b Abblendlicht
57 Standlicht

Bild 150

Zündlichtschalter zum Reinigen der Steckanschlüsse abgenommen. Dazu sind die drei Zapfen des Abdeckbleches aufzubiegen und die Halteschrauben zu lösen. Achtung! Den Dichtgummi zwischen Zündschloß und Scheinwerfergehäuse nicht verlieren! Die Klemmennummern sind unverändert (s. auch Bild 98).Oxidbildung an den Steckanschlüssen (besonders in der Nähe der Batterie) bringt Durchgangsverluste bis zu 50%!Wenn die Glühlampen trübes Licht geben, so braucht das nicht an der Ladespannung oder der Batterie zu liegen, sondern kann auf Oxydation zurückzuführen sein.

Bild 151



9. Selbstbauskizzen für Sonderwerkzeuge

nächster Punkt ; Inhaltsverzeichnis

Ankerabziehschraube (s. a. Bild 12)
02-MW 39-4

Gegenhalter für Getriebekettenrad (s. a. Bild 16)
05-MW 45-3


Abzieher für Getriebekettenrad und 68zähniges Antriebsrad (s. a. Bilder 17 und 21)
05-MV 45-3


Kupplungsabzieher (s. a. Bild 19)
05-MW 20-4

Gegenhalter für 68zähniges Antriebsrad (s. a. Bild 20)
05-MW 15-3

Gehäusetrennschraube mit Einlegering für die Kurbelwelle (s. a. Bild 24)
05-MV 70-2

Trennschraube für die Abtriebswelle (s. a. Bild 24)
05-MV 71-2

Ausdrückvorrichtung für die Kurbelwelle (s. a. Bild 26)
05-MV 69-2

Schlagdorn für das Kurbelwellenlager 6305 (s. a. Bild 29)
05-MW 92-4

Schlagdorn für den Kurbelwellendichtring
05-MW 91-4



Schlagdorn für das Lager 6204 auf der Abtriebswelle und das Lager 6203 auf der Antriebswelle (s. Bild 42)
05-MW 106-4
<
Profilsteckschlüssel (s. a. Bild 40)
02-MW 60-3

Prüfdorn und Lineal zum Pleuelrichten (s. a. Bild 48)
H 8-626-3

Kolbenunterlage (s. a. Bild 61)
05-MW 16-4

Führungsdorn für den Kolbenbolzen
05-MW 19-4


Einziehvorrichtung für die Pleuelbuchse (s. a. Bild 63)
O 5 H 8-594-V 3

Kolbenring-Spannring für ES 175/1 (s. a. Bild 64)
02-MW 35-4

Kolbenring-Spannring für ES 250/1
05-MW 17-4


Kolbenring-Spannring für ES 300
15-MW 1-4


Meßeinrichtung für das Axialspiel am Antriebsrad (s. a. Bild 70)
05-ML 13-4

Kupplungsspannvorrichtung (s. a. Bild 73)
05-MV 150-2







Zentrierdorn für die Schwingarme (s. a. Bild 120)
05-MW 26-4

Radlagerspreizdorn (s. a. Bild 129)
H 8-820-3

Montagehülse für die MM-Manschette (s. a. Bild 145)
05-MV 93-4

Schlüssel für die Federbeinverschlußmutter (s. a. Bild 141)
05-MW 82-4

Niveaustand-Prüfgerät

10. Umrechnungstabelle

Inhaltsverzeichnis

1 internationaler Zoll (") = 25,4mm
(Ab 1. 7. 1959 ist englischer und amerikanischer Zoll gleichgestellt.)

1 Meile = 1,61 km

  1. Millimeter in Zoll
      1 mm = 0,0394 "
      0,5 mm = 0,0197 "
      0,1 mm = 0,0039 "
      0,01 mm = 0,0004 "
  2. Zollbrüche in Millimeter
      1/64 " = 0,397 mm
      1/32 " = 0,794 mm
      1/16 " = 1,588 mm
      1/8 " = 3,175 mm
      1/4 " = 6,350 mm
      1/2 " = 12,700 mm
  3. Kilometer in Meilen
      1 km = 0,621 Meilen
      (1 Meile = 1,61 km)
  4. Celciusgrade in Fahrenheitgrade
      -20°C = -4°F
      0°C = 32°F
      50°C = 122°F
      80°C = 176°F
      100°C = 212°F
  5. Liter in Gallon und Pint
      1 US-Gallon = 3,785 Liter (l)
      1 US-Pint = 0,4732 Liter
      1 engl. Gallon = 4,546 Liter
      1 engl. Pint = 0,5682 Liter